EasyManua.ls Logo

CRS A255 - Move out of the Shipping Position

Default Icon
80 pages
Print Icon
To Next Page IconTo Next Page
To Next Page IconTo Next Page
To Previous Page IconTo Previous Page
To Previous Page IconTo Previous Page
Loading...
Chapter 5: Commissioning 41
99-04-23
Move Out of the Shipping Position
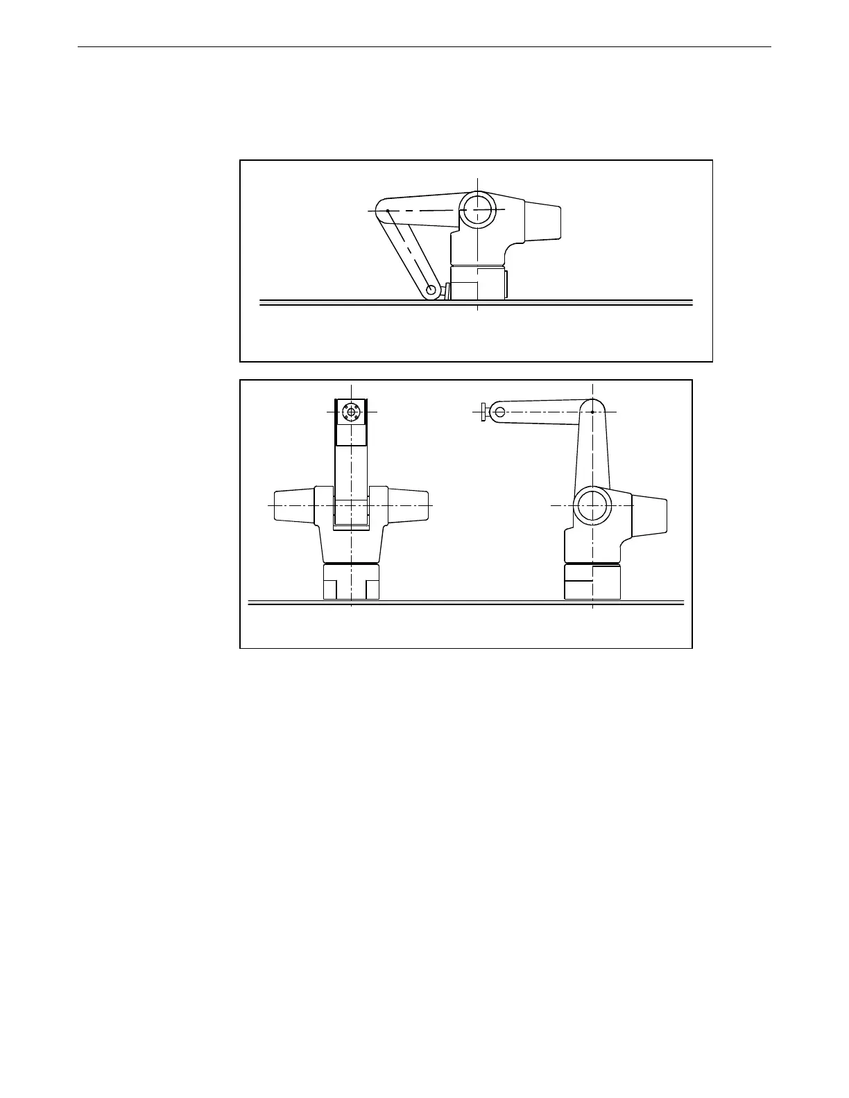
The arm is shipped with the wrist positioned at the bottom of the base and the tool
flange turned towards the base.
Once mounted, you can use the teach pendant or other tool to carefully move the
arm out of the shipping position and into a safe starting position.
A safe starting position is any position where the arm links and tool flange are
safely away from the mounting surface, base, cabling, and obstructions in the
workcell. The following pose is the recommended safe starting position.
You can move out of the shipping position by using the teach pendant or the
application shell. It is safer to use the teach pendant.
A255 arm shipping position. This is not a safe starting position.
The recommended safe starting position.