EasyManua.ls Logo

Daikin ECORICH EHU2504 - Monitor Mode Operations

Daikin ECORICH EHU2504
80 pages
Print Icon
To Next Page IconTo Next Page
To Next Page IconTo Next Page
To Previous Page IconTo Previous Page
To Previous Page IconTo Previous Page
Loading...
43
PIM00504
No. Name Unit Details
n25 Power consumption kW
Displays the current approximate power
consumption.
n26 I/F board temperature
°C
Displays the current approximate temperature in the
controller.
n27 (Reserved for the system) - Displays “-99”.
By pressing the
key while an alarm code is displayed, the current power-up count can be checked.
Memo
When the power-up count displayed for “n04 : Latest alarm code” exceeds 999, it is cleared
to 0.
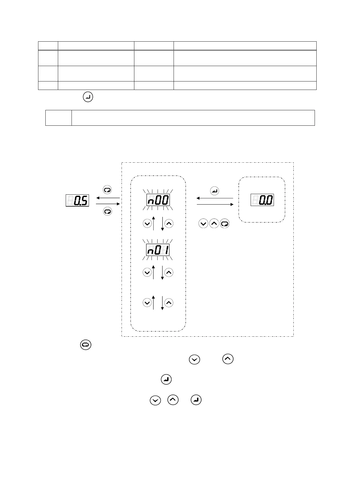
11.4.2 Monitor mode operations
最大データ番号の
n00に戻
のいずれ
通常モー
モニタモード
データ番号の選択
値表示
・・・
Press the
key in the regular mode. The mode will switch to the monitor mode.
Select the data number to be displayed by using the
key or key. During data number
selection, the display will flash.
Confirm the data number by pressing the
key. The value for the selected data number will be
displayed.
Return to data number selection with
, or .
Monitor mode
Value display
Selection of data number
Regular mode
The data number selected
after the maximum data
number returns to n00.
One of

Table of Contents

Related product manuals