EasyManua.ls Logo

Daikin R407C PLUS - Page 144

Daikin R407C PLUS
267 pages
Print Icon
To Next Page IconTo Next Page
To Next Page IconTo Next Page
To Previous Page IconTo Previous Page
To Previous Page IconTo Previous Page
Loading...
Si33-105 Test Operation
Test Operation R407C PLUS Series Heat Recovery System 133
BRC7C Type
!
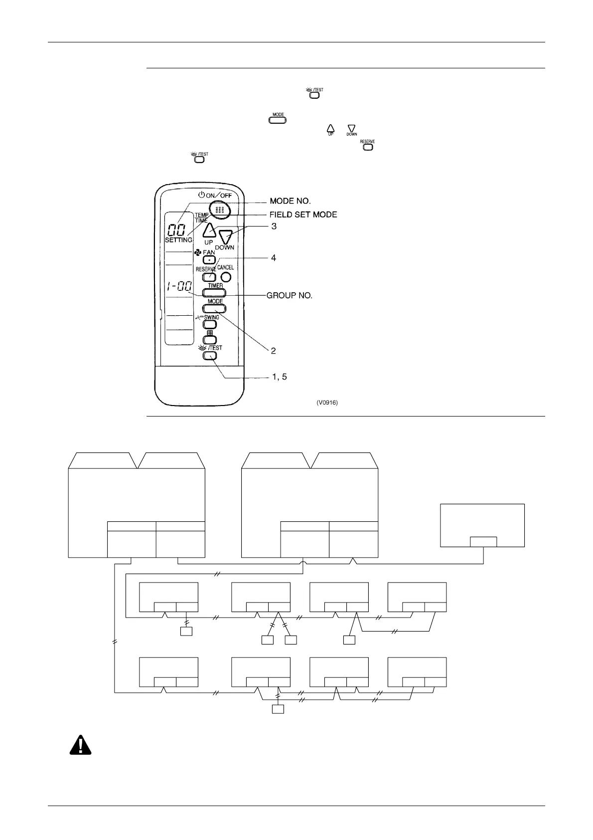
Group No. setting by wireless remote controller for centralized control
1. When in the normal mode, push button for 4 seconds or more, and operation then
enters the “field set mode.”
2. Set mode No. “00” with button.
3. Set the group No. for each group with button (advance/backward).
4. Enter the selected group numbers by pushing button.
5. Push button and return to the normal mode.
BRC7C Type
Group No. Setting
Example
!
If you have to set the address for each unit for calculating cost, etc., set the mode No. to “30.”
Caution When turning the power supply on, the unit may often not accept any operation while "88" is
displaying after all indications were displayed once for about 1 minute on the liquid crystal
display.
This is not an operative fault.
Centoral Remote
Controller
F1 F2
F1 F2 F1 F2
F1 F2
P1 P2
RC
RC
RC RC RC
F1 F2 P1 P2 F1 F2 P1 P2 F1 F2 P1 P2
F1 F2 P1 P2 F1 F2 P1 P2 F1 F2 P1 P2 F1 F2 P1 P2
No Remote Controller
Group Control by Remote Contoller
(autmatic unit address)
1-03
1-00
1-01
Main Sub
1-02
1-04
Indoor/Outdoor
Outdoor/Outdoor
F1 F2 F1 F2
Indoor/Outdoor
Outdoor/Outdoor
(V0917)

Table of Contents

Related product manuals