EasyManua.ls Logo

Daikin R407C PLUS - Self-Diagnosis by Wired Remote Controller

Daikin R407C PLUS
267 pages
Print Icon
To Next Page IconTo Next Page
To Next Page IconTo Next Page
To Previous Page IconTo Previous Page
To Previous Page IconTo Previous Page
Loading...
Si33-105 Troubleshooting by Remote Controller
Troubleshooting R407C PLUS Series Heat Recovery System 145
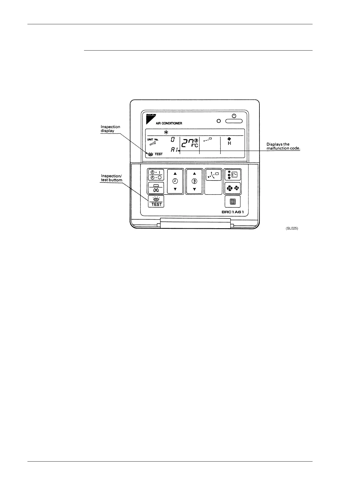
2.2 Self-diagnosis by Wired Remote Controller
Explanation If operation stops due to malfunction, the remote controller’s operation LED blinks, and
malfunction code is displayed. (Even if stop operation is carried out, malfunction contents are
displayed when the inspection mode is entered.) The malfunction code enables you to tell what
kind of malfunction caused operation to stop. See page 153 for malfunction code and
malfunction contents.

Table of Contents

Related product manuals