EasyManua.ls Logo

Daikin R407C PLUS - Page 99

Daikin R407C PLUS
267 pages
Print Icon
To Next Page IconTo Next Page
To Next Page IconTo Next Page
To Previous Page IconTo Previous Page
To Previous Page IconTo Previous Page
Loading...
Outline of Control (Outdoor Unit) < Symbols using in this manual > Si33-105
88 Function R407C PLUS Series Heat Recovery System
3.6.2 Variation of Temperature Control Mode during Pressure Equalizing
Control and Compressor Operation
Purpose
!
Conducts pressure equalizing operation on outdoor unit to prevent equalizing sound from
generating in BS unit.
Contents
!
Conducts pressure equalizing operation depending on the operating state of indoor unit. If
any of the following equalizing conditions is met, the equalization is conducted.
!
Mode variation during compressor operation(Operation mode judgement is same as 3-1
“Startup mode judgement”.) If the operation button is in OFF position, the variation of
temperature control mode on the remote controller is not recognized as the variation of
temperature control mode.
When the condition varies to Condition C before the above conditions are met, the indoor
unit in varied temperature control mode turns to thermostat OFF status by the operation
before the variation. (Switching of BS solenoid valve and indoor unit actuator is not
conducted.)
Regarding four way valve switching control, see “Four way valve switching (startup) control”.
And see the next page for the equalizing control.
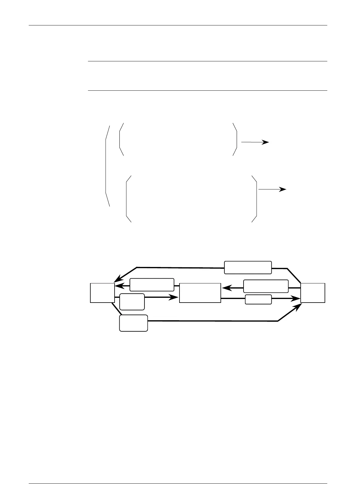
Condition A
Condition C
Equalizing demand 1
Elapsed time of 15 minutes after the completion of the previous equalizing,
defrosting and oil return operation.
&
&
OR
In compressor operation
Not in accumulator discharge operation
Not in startup control
Not in oil return and defrosting operation
Not in pump-down residual operation
Indoor unit temperature control mode varies
Heating Cooling.
Indoor unit temperature control mode varies
Fan Heating.
The following operation mode may vary.
(Equalizing control section)
(V2586)
Cooling
mode
Heating
mode
Pressure Equalizing
control
Pressure
Equalizing control
According
to condition
Pressure
Equalizing control
Simultaneous
cooling/heating
operation mode
4-way valve
changeover
control
4-way valve
changeover
control
(V2587)

Table of Contents

Related product manuals