EasyManua.ls Logo

Danfoss Series 90 - Integrated NFPE control, endcap twin ports

Danfoss Series 90
91 pages
Print Icon
To Next Page IconTo Next Page
To Next Page IconTo Next Page
To Previous Page IconTo Previous Page
To Previous Page IconTo Previous Page
Loading...
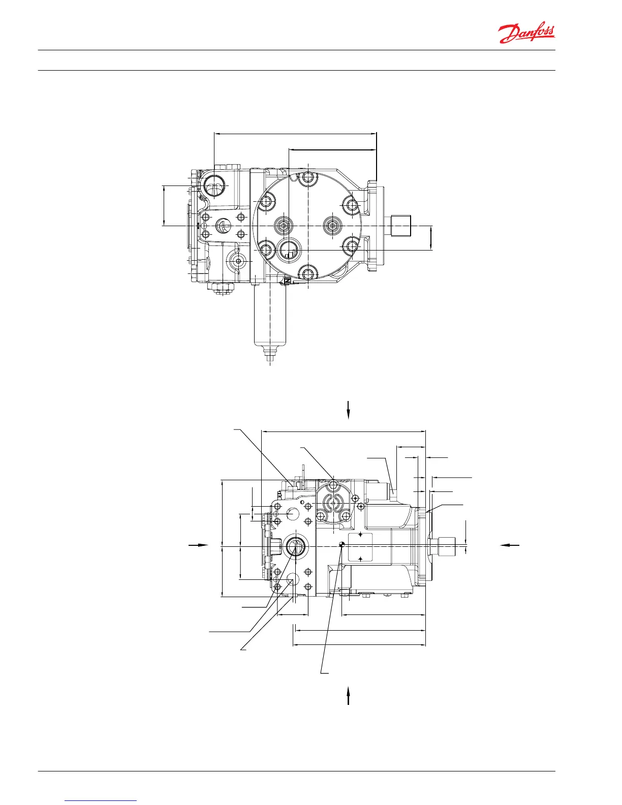
262.4
[10.332]
141.7
[5.581]
65
[2.558]
39.4
[1.551]
View "E"
P104 327E
Integrated NFPE control, endcap twin ports
"B"
"A"
4
[0.157]
124.2
[4.89]
99.0
[3.90]
61
[2.402]
27.76
[1.093]
61
[2.402]
54
[2.118]
306
[12.043]
Connector
AMP Junior Typ A
Case drain L1
1-1/16-12UN-2B
14
[0.56]
7.95
[0.313]
R0.8 max.
[0.03]
12.45±0.25
[0.490±0.010]
System pressure B
Gage port M2
9/16-18UNF-2B
156
[6.142]
57.15
[2.25]
242
[9.54]
248
[9.75]
Charge pump inlet
1-5/16-12UN-2B
Approx center
of gravity
"E"
"C"
System pressure A
Gage port M1
9/16-18UNF-2B
Split flange boss (2x)
DN 25 TypII 40MPa series
per ISO 6162
Thread: 0.4375-14UNC-2B
[7/16-14UNC-2B]
0.83 min.
full thread depth
P104 328E
Technical Information
Series 90 Axial Piston Pumps
Installation Drawings
62 520L0603 • Rev 0804March 2016

Table of Contents

Related product manuals