EasyManua.ls Logo

Eclipse AVN5500 - Switching the Highway Junction Guidance Screen

Eclipse AVN5500
168 pages
Print Icon
To Next Page IconTo Next Page
To Next Page IconTo Next Page
To Previous Page IconTo Previous Page
To Previous Page IconTo Previous Page
Loading...
90
5. Route guidance
Navigation guidance
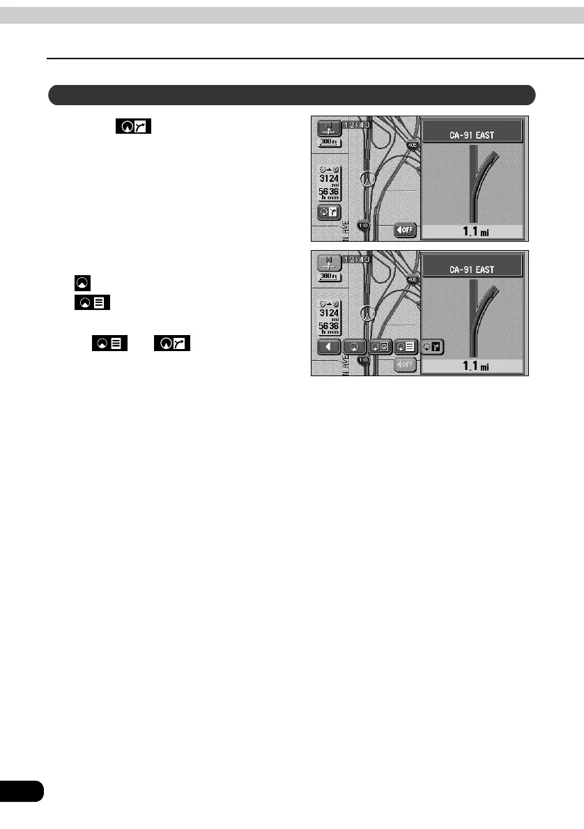
Touch .
To display the regular screen touch
. To display the turn list, touch
.
To redisplay the highway pattern screen,
touch and .
Switching the highway junction guidance screen

Table of Contents

Related product manuals