EasyManua.ls Logo

eschmann SES2000 - Autoclave Heater and Process Controls

eschmann SES2000
46 pages
Print Icon
To Next Page IconTo Next Page
To Next Page IconTo Next Page
To Previous Page IconTo Previous Page
To Previous Page IconTo Previous Page
Loading...
Part 2 SES 2000 AUTOCLAVE
Page 14 of 43 ST-SM8l
PART 2 DESCRIPTION
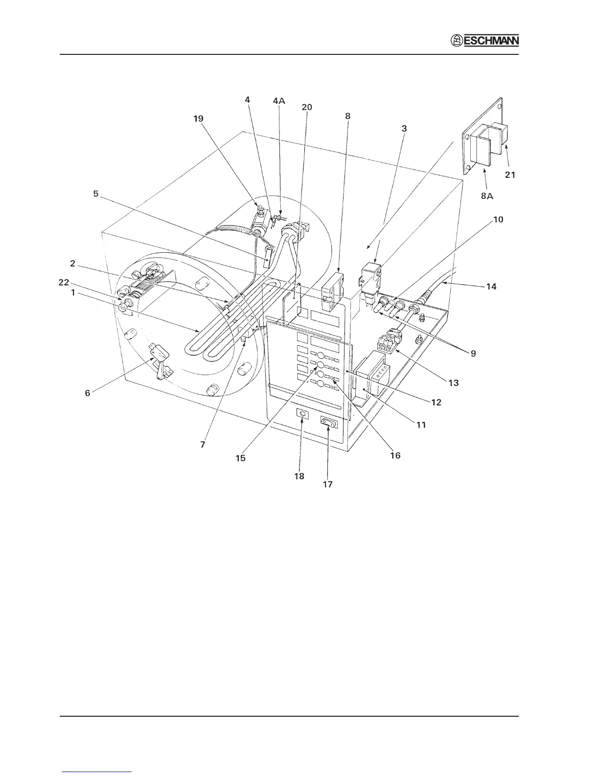
Fig. 4 Autoclave: Heater and Process Controls
1 Heating element
2 Thermostat sensor bulb
3 Cycling thermostat
4A Temperature sensor*
4 Sensor retaining plate
5 Water level sensor
6 Door interlock microswitch
7 Thermal fuse
8 Solid state relay
8A Solid state relay
(CE ONLY see note page 38)
9 Fuses (10A, 15A or 16A)
10 Fuse (400mA or 800mA)
* Autoclaves which incorporate a printer are fitted with two temperature sensors
11 Transformer
12 PCB (controller)
13 Terminal block
14 Power supply cable
15 Programme selector buttons
16 Light emitting diodes (LED’s)
17 Power on/off switch
18 Overheat warning lamp
19 Thermocouple entry port
20 Printer interface board
21 Mechanical relay (Relay protection
board) (CE ONLY see note page 38)
22 Solenoid door lock (CE ONLY see
note page 38)
Note: Items 4 and 4a are
fitted to the underside of
chamber manifold but
shown here for clarity.

Table of Contents

Related product manuals