EasyManua.ls Logo

eschmann SES2000 - Illustrated parts list 1: Pipes and valves

eschmann SES2000
46 pages
Print Icon
To Next Page IconTo Next Page
To Next Page IconTo Next Page
To Previous Page IconTo Previous Page
To Previous Page IconTo Previous Page
Loading...
ST-SM8l Page 31 of 43
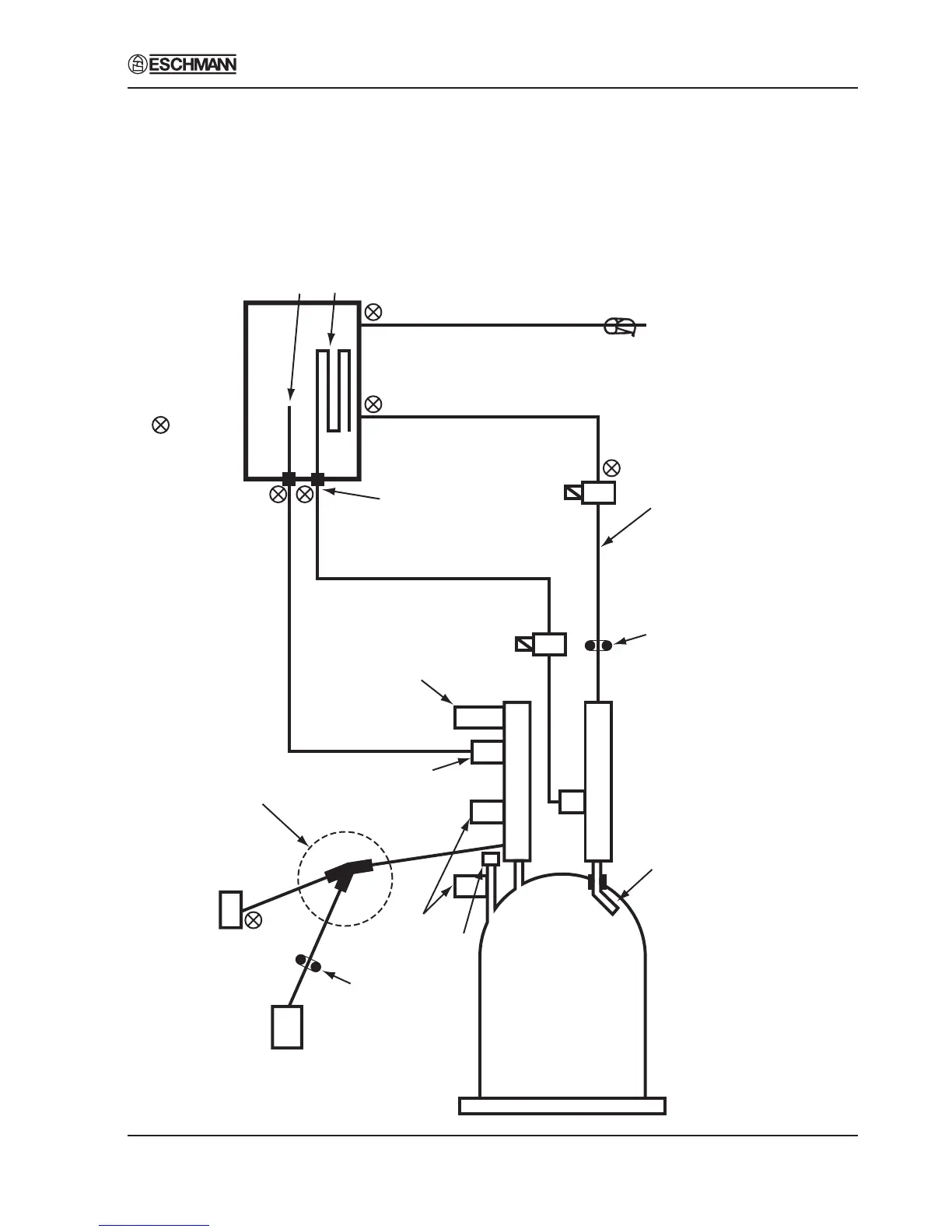
SES 2000 AUTOCLAVE Part 4
PART 4 ILLUSTRATED PARTS LIST
IMPORTANT NOTE: From SN prefix SCC (std.) and LSCC (long) the pipes and
fittings have been changed to those shown in the Schematic Diagram below
(i.e. pipes changed from copper to reinforced silicone).
CHAMBER
PRESSURE GAUGE ASSY.
490159 (includes elbow 115457
& swivel fitting 112780)
PRESSURE DOOR
LOCK ASSY. 427035
AIR
VENT
DISCHARGE
VALVE ASSY.
490125
PRESSURE
RELIEF
VALVE
RESERVOIR
Air vent pipe 115458 (for Short)
115462 (for Long)
FILL VALVE
ASSY. 490173
Discharge pipe 115337
Drain hose 115459
CLAMP
(380010)
Fill pipe 115460 (for Short)
115463 (for long)
FILTER ASSY. 490126
MANIFOLD ASSY. 490158
CONDENSOR
TEST
PORTS
TEST
PLUG
Tube assy.
115466 (for Short)
115437 (for Long)
427072* Water fill pipe
assy. & nut 301156
490157* Reservoir
coil assy.
490188* Reservoir
vent pipe assy.
490185* Fill valve
to filter, pipe assy.
Fit a swivel fitting (424289) where indicated
20 mm Grommet
(696656)
25 mm Grommet
(301842)
Restrictor 115285
inside pipe here.
Pipe 115237 (for Short)
115461 (for Long)
Apply a cable tie (695777) to all silicone pipe connections using Tool No. 2157 on setting 2.
* These copper pipe assemblies come complete with the required olive(s) and nut(s).

Table of Contents

Related product manuals