EasyManua.ls Logo

Extra 300L - Time to Climb, Fuel to Climb

Default Icon
330 pages
Print Icon
To Next Page IconTo Next Page
To Next Page IconTo Next Page
To Previous Page IconTo Previous Page
To Previous Page IconTo Previous Page
Loading...
5 - 10 Page Date: 20. April 2002
Pilot“s Operating Handbook
EXTRA 300L
Section 5
Performance
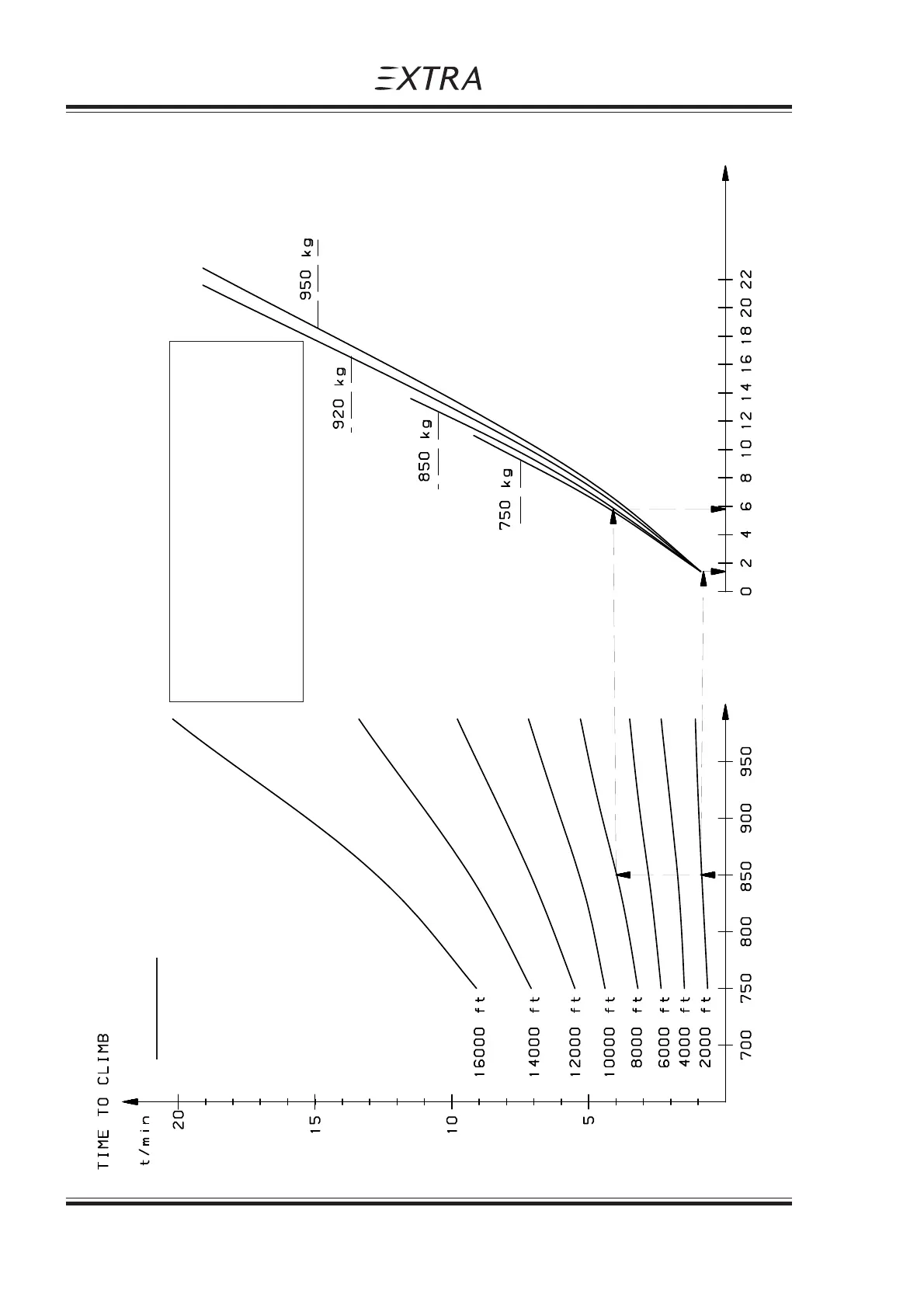
5.7 TIME TO CLIMB, FUEL TO CLIMB
EXAMPLE
WEIGHT: 850 KG (1874 LBS)
ALT: 2000 ft (ISA) => 8000 ft (ISA)
TIME TO CLIMB: 3.1 min
FUEL TO CLIMB: 4.4 ltr (1.16 US Gal.)
WEIGHT / KG
(LBS)
2095 lbs
1654 lbs
1874 lbs
2029 lbs
1544 1654 1764 1874 1985 2095
LTR
(US GAL.)
0 .53 1.59 2.64 3.70 4.76 5.81
FUEL TO CLIMB
CONDITIONS:
MAX. CONT. POWER CLIMB
AT VY SPEED; ISA

Table of Contents

Related product manuals