EasyManua.ls Logo

Facom BEISSBARTH microtec 880 - Motor Connection Chart

Facom BEISSBARTH microtec 880
44 pages
Print Icon
To Next Page IconTo Next Page
To Next Page IconTo Next Page
To Previous Page IconTo Previous Page
To Previous Page IconTo Previous Page
Loading...
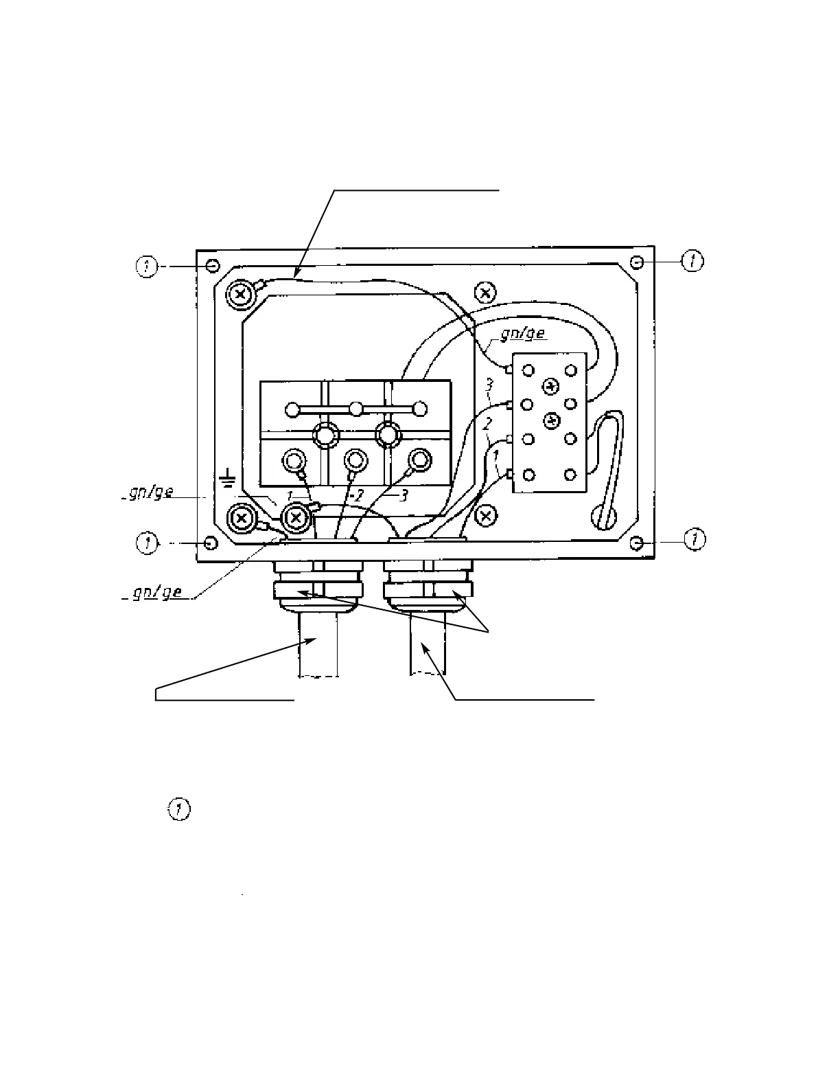
BEISSBARTH MT 870 / MT 880
A-2
Motor connection chart mt 880 / mt 870
Lid fixture with washers A 4,3 br - EDV-Nr.: 975 230 007
Cable FU-Motor
EDV-Nr.: 931 883 018
Cable Motor- SP
EDV-Nr.: 931 883 020
Cable castening PG 16
EDV-Nr.: 974 205 245
Earthing Strap
EDV-Nr.: 931 883 036
gn = green
ge = yellow

Related product manuals