EasyManua.ls Logo

Fike 10-071 - Connect AC Power to the Controller

Fike 10-071
76 pages
Print Icon
To Next Page IconTo Next Page
To Next Page IconTo Next Page
To Previous Page IconTo Previous Page
To Previous Page IconTo Previous Page
Loading...
4.0 INSTALLATION
UL S2203 Cheetah Xi 50 Installation Manual 4-9
FM P/N: 06-369 Rev 6, 09/2015
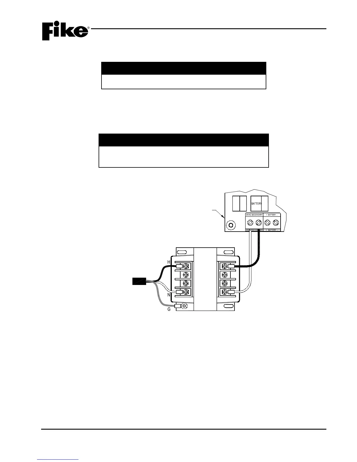
4.10 CONNECT AC POWER TO THE CONTROLLER
a WARNING
AC power connections to the Cheetah Xi 50 Controller must
be made with the main power breaker locked out.
The following general steps shall be used to connect AC power to the controller:
1. Connect wiring from the secondary side of the AC power transformer (X1 and X2) to the controller’s
P1 - 24VAC Secondary terminals (See Exhibit 4-10) making sure to land wires to the correct
terminals.
I Caution
The transformer input should never be connected to the
battery input. Reversing the AC and Battery input will damage
the controller.
2. Do NOT energize the AC power source at this time!
P1
F1
AC
15A
F2
15A
H2
H1
X1
X2
TRANSFORMER
AC POWER
INPUT
CHEETAH Xi 50
CONTROLLER
Exhibit 4-10: AC Power Connections

Table of Contents

Related product manuals