EasyManua.ls Logo

Frymaster OCF30E - Replacing Contactor Box Components

Frymaster OCF30E
68 pages
Print Icon
To Next Page IconTo Next Page
To Next Page IconTo Next Page
To Previous Page IconTo Previous Page
To Previous Page IconTo Previous Page
Loading...
1-6
1
4
2
5
3
6
1
4
2
5
3
6
789
5
R
4R
6
R
1R
2
R
3R
Index Marker marks
Position 1
5L 4L6L 1L2L3L
8. Reconnect the element connector ensuring that the latches lock.
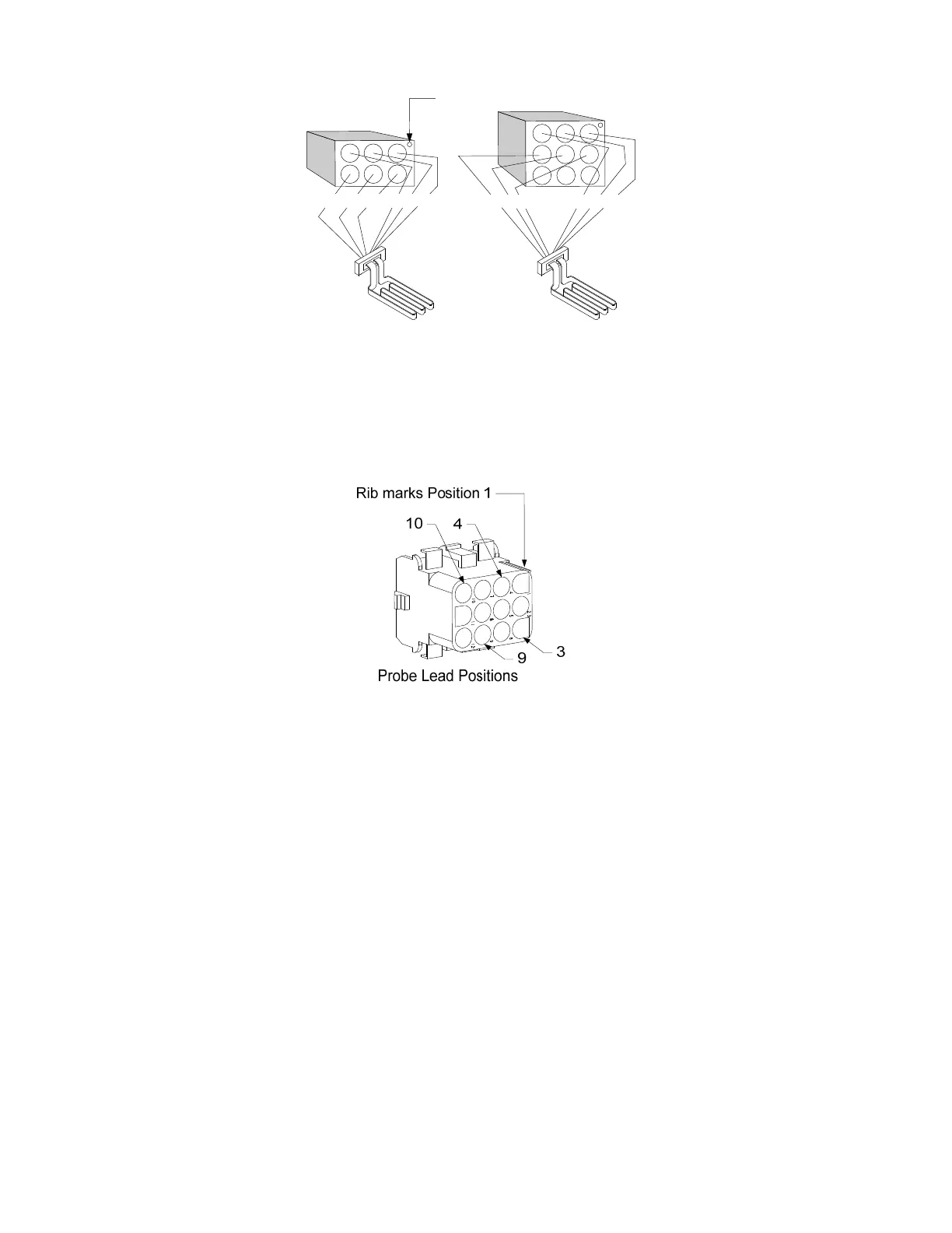
9. Insert the temperature probe leads into the 12-pin wiring harness connector (see illustration
below). For full-vat units or the right half of a dual-vat unit, the red lead goes into position 3 and
the white into position 4. For the left half of a dual-vat unit, the red lead goes into position 9 and
the white into position 10. NOTE: Right and left refer to the fryer as viewed from the front.
10. Reconnect the 12-pin connector C-6 of the wiring harness disconnected in Step 2.
11. Lower the element onto the basket rack.
12. Reinstall the tilt housing, back panels and contactor plug guard. Reposition the fryer under the
exhaust hood, and reconnect it to the electrical power supply.
1.7 Replacing Contactor Box Components
1. If replacing a contactor box component, remove the filter pan and lid from the unit.
2. Disconnect the fryer from the electrical power supply.
3. Remove the two screws securing the cover of the contactor box. The contactor boxes above the
filter pan are accessed by sliding under the fryer. They are located to the left and right above the
guide rails (see photo below). The contactor boxes for frypots not over the filter pan are accessed
by opening the fryer door directly under the affected frypot (see photo on following page).

Table of Contents

Related product manuals