EasyManua.ls Logo

Frymaster OCF30E - Terminal Blocks

Frymaster OCF30E
68 pages
Print Icon
To Next Page IconTo Next Page
To Next Page IconTo Next Page
To Previous Page IconTo Previous Page
To Previous Page IconTo Previous Page
Loading...
2-12
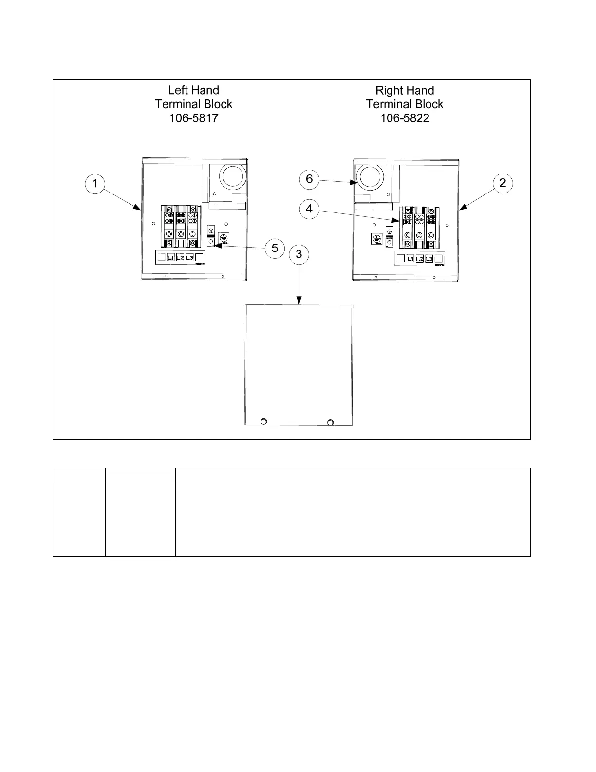
2.5.4 Terminal Blocks
ITEM PART # COMPONENT
1 823-5631 Box, LH Rear Terminal Block
2 823-5632 Box, RH Rear Terminal Block
3 220-0801 Cover, Rear Terminal Block Box
4 807-3970 Block, 3 Pole 600V 175A
5 807-0070 Terminal, Ground Lug
6 807-0128 Bushing, Insulating Heyco

Table of Contents

Related product manuals