EasyManua.ls Logo

Groen CC20-E - Page 32

Groen CC20-E
314 pages
Print Icon
To Next Page IconTo Next Page
To Next Page IconTo Next Page
To Previous Page IconTo Previous Page
To Previous Page IconTo Previous Page
Loading...
CC10-E
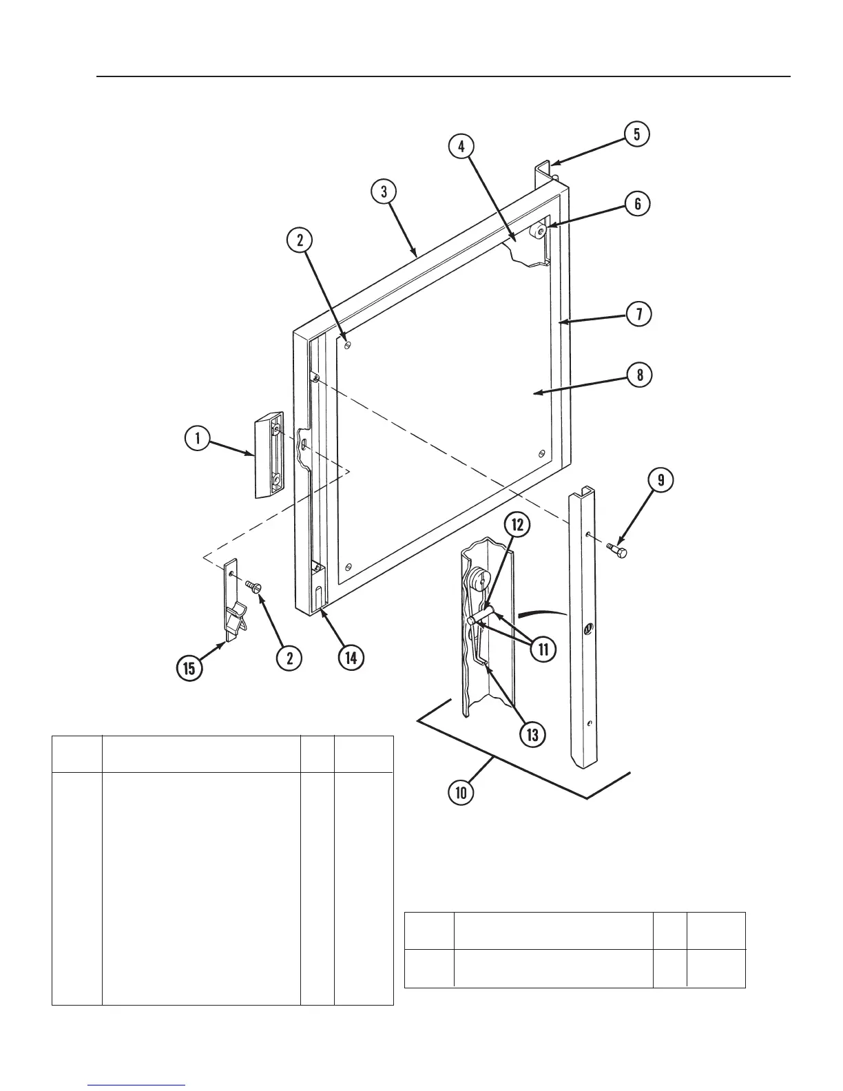
Parts List
2-29
(Revised 1/02)
* Not Shown
Door Assembly . . . . . . . . . . . . 1 073284
1 Handle . . . . . . . . . . . . . . . . . . 1 129723
2 Truss Head Screw S.S. . . . . . 6 005764
3 Door Front Panel . . . . . . . . . . 1 073281
4 Insulator Board . . . . . . . . . . . 1 070110
5 Hinge . . . . . . . . . . . . . . . . . . . 1 070199
6 Door Spacer . . . . . . . . . . . . . . 4 071206
7 Gasket . . . . . . . . . . . . . . . . . . 1 070121
8 Inner Panel . . . . . . . . . . . . . . 1 070112
9 Hex Head Cap Screw S.S. . . 2 005608
10 Latch Assembly . . . . . . . . . . . 1 078906
11 Retaining Ring . . . . . . . . . . . 2 073278
12 Spring Support Pin . . . . . . . . 1 073280
13 Door Spring . . . . . . . . . . . . . 1 078911
14 Block and Magnet Assembly 1 069762
15 Door Cam . . . . . . . . . . . . . . . . 1 074252
Item Description Qty.
Part
No.
* Loctite 242 . . . . . . . . . . . . . . . 1 073282
* RTV Sealant 159 . . . . . . . . . . 1 078939
Item Description Qty.
Part
No.
Figure 6. Oven Door

Related product manuals