EasyManua.ls Logo

HMS Netbiter EasyConnect Series - Technical Specifications; Dimensions

HMS Netbiter EasyConnect Series
60 pages
Print Icon
To Next Page IconTo Next Page
To Next Page IconTo Next Page
To Previous Page IconTo Previous Page
To Previous Page IconTo Previous Page
Loading...
Doc: HMSI-168-92 Rev: 3.00Netbiter EasyConnect Gateway User Manual
Technical Specifications 51
11. Technical Specifications
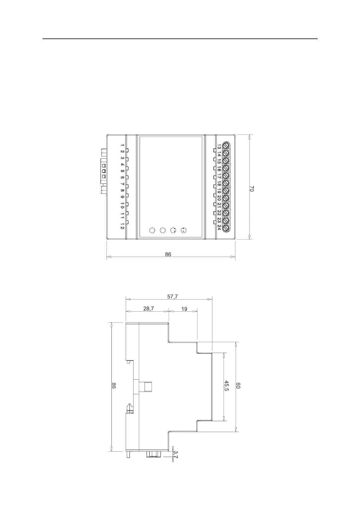
11.1 Dimensions
Allmeasurementsareinmillimetresunlessotherwisespecified.
Netbiter EC150

Related product manuals