CATALOG
DISPLAY
CATALOG
DLP
Requires Option 003 for an HP
859OL,
HP
8592L,
or HP 8594L.
catalogs all of the display images that are on the memory card. A display
image can be recalled to the spectrum analyzer by using the
CARD+DISPLAY
softkey.
Front-Panel Key Access:
@iZZiJ
or
m
catalogs all of the downloadable programs
(DLPs)
that are in spectrum analyzer
memory or on the memory card. Downloadable programs can be saved in
spectrum analyzer memory by either loading in a downloadable program from
the memory card or defining a function using remote programming commands
(FUNCDEF or ACTDEF).
Front-Panel Key Access:
[jj
or
ISAVE)
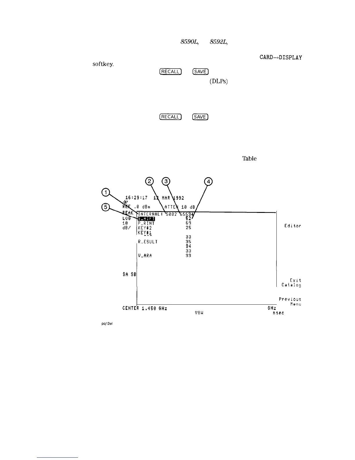
Catalog
Internal
accesses a menu that has the cataloging functions for spectrum analyzer
memory: CATALOG ALL , CATALOG REGISTER, CATALOG VARIABLS ,
CATALOG PREFIX, CATALOG DLP , and CATALOG ON EVENT . Each catalog
function displays catalog information. The catalog contains information about
the data stored in internal memory (see Figure 7-2 and
Table
7-4).
52'
2
27
-_-
T-EST
R-ESULT
:z
H-SPAN
V-ARE
V-fiRA
SA
SE
SC FC
CORR
34
ii
Exit
Catalog
11
PreVhiiz
CENTER
1.456
GHz
SPAN 2.900
GHz
RES BW 3.8 MHz
UBW
1 MHz
SWP 58.6
msec
RL
Edltar
DELETE
FILE
SELECT
PREFIX
pq124
Figure 7-2. Analyzer Memory Catalog Information
7-18 Key Descriptions