EasyManua.ls Logo

Icom IC-80AD - Page 149

Icom IC-80AD
188 pages
Print Icon
To Next Page IconTo Next Page
To Next Page IconTo Next Page
To Previous Page IconTo Previous Page
To Previous Page IconTo Previous Page
Loading...
141
12
MENU SCREEN OPERATION
1
2
3
4
5
6
7
8
9
10
11
12
13
14
15
16
17
18
19
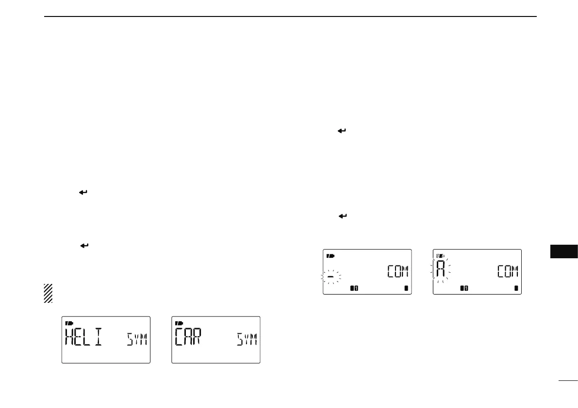
GPS-A symbol (SYMBOL)
Selects the desired GPS-A symbol.
Available symbols: AMBU (Ambulance), BUS (Bus), FIRE
(Fire Truck), BICYCL (Bicycle), YACHT (Yacht), HELI (Heli-
copter), AIRCRA (Small Aircraft), SHIP (Power Boat), CAR
(Car): (default), MCYCLE (Motorcycle), BALLOO (Balloon),
JEEP (Jeep), RV (Recreational Vehicle), TRUCK (Truck), VAN
(Van) and OTHER (Other).
If “OTHER” is selected, set the desired symbol code as fol-
lows;
q Push [
](5) to begin the programming.
w Push [](2) or [](8) to select the 1st character from “\”
and “/.
e Push [](6) to select the 2nd digit.
r Push [](2) or [](8) to select the 2nd digit character.
t Push [
](5) to program the symbol code, then exit pro-
gramming.
y Push [](4) to return to GPS-A set mode screen.
When “OTHER” is selected, check the symbol codes of
APRS
®
and set it correctly.
Car is selectedHelicopter is selected
Comment (COMMEN)
Program up to a 43-character* comment. The programmed
comment is transmitted with the GPS position data.
*Only 36 characters are available when “CUR/SPD”
(COURSE/SPEED) is selected in DT EXT (Data extension).
q Push [
](5) to enter the programming.
w Push [](2) or [](8) to select the desired character.
The selected character blinks.
Push [](6) to move the cursor right; push [](4) to move the
cursor left.
Push [CLR](1) to erase the selected character, or push and hold
[CLR](1) for 1 sec. to erase all characters following the cursor.
e Repeat step w until the desired comment is programmed.
r Push [
](5) to program the comment and exit comment
programming.
t Push [
](4) to return to GPS-A set mode screen.

Table of Contents

Other manuals for Icom IC-80AD

Related product manuals