EasyManua.ls Logo

Icom IC-80AD - Alarm Area

Icom IC-80AD
188 pages
Print Icon
To Next Page IconTo Next Page
To Next Page IconTo Next Page
To Previous Page IconTo Previous Page
To Previous Page IconTo Previous Page
Loading...
88
8
GPS/GPS-A OPERATION
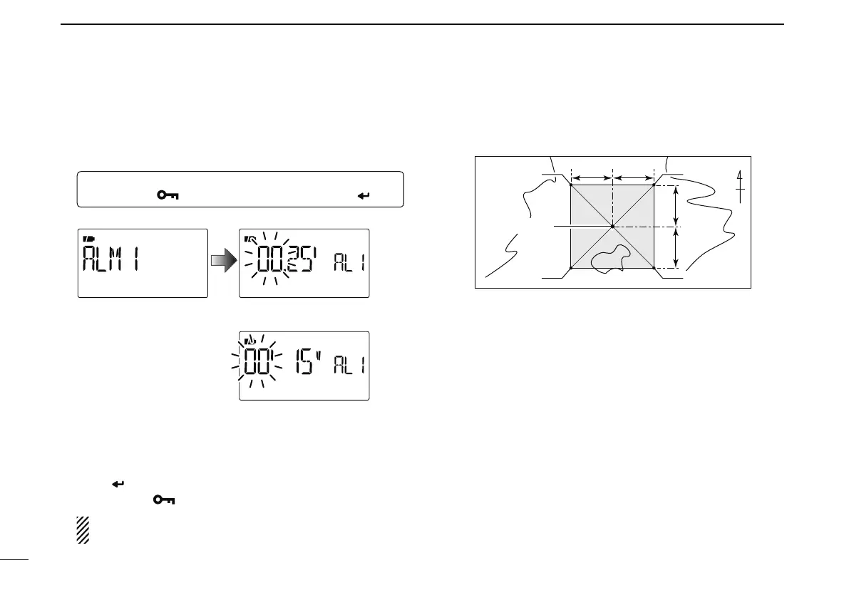
D Alarm area 1
Sets GPS alarm active range from 00.08 to 59.99 in 00.01
steps.
(default: 00.25)
q Enter “ALM1” in GPS set mode.
MENU GPS ALM1
(Push [MENU ]), (Push [](2)/[](8), then push [ ](5).)
• ALM1 setting screen is displayed.
When “P FORM” (position format) (p. 136) is selected “mm.SS.
When “P FORM” (position format) (p. 136) is selected “mm.mm.
w Push [](2) or [](8) to set the desired alarm area.
Push [](6) to move the cursor right; push [](4) to move the
cursor left.
e Push [ ](5) to set the area.
r Push [MENU
] to return to frequency indication.
The alarm area 1 function is available when the “GPS
ALARM” function ALL is ON.
00.25’ 00.25’
00.25’00.25’
Your position
Point A
Point C
Point B
Point D
N
• Example: Your position : 35°N/135°E
ALM AREA1 setting : 00.25’
(default)
• Position of point A : 35°00.25’N/134°59.75’E
• Position of point B : 35°00.25’N/135°00.25’E
• Position of point C : 34°59.75’N/134°59.75’E
• Position of point D : 34°59.75’N/135°00.25’E
When the target position comes into the alarm area shown
above, the GPS alarm sounds.
These sample indications assume that “P FORM” is selected
“mm.mm. (p. 136)

Table of Contents

Other manuals for Icom IC-80AD

Related product manuals