EasyManua.ls Logo

IFM Electronic LR2050 - Analogue Output Signal

IFM Electronic LR2050
51 pages
Print Icon
To Next Page IconTo Next Page
To Next Page IconTo Next Page
To Previous Page IconTo Previous Page
To Previous Page IconTo Previous Page
Loading...
10
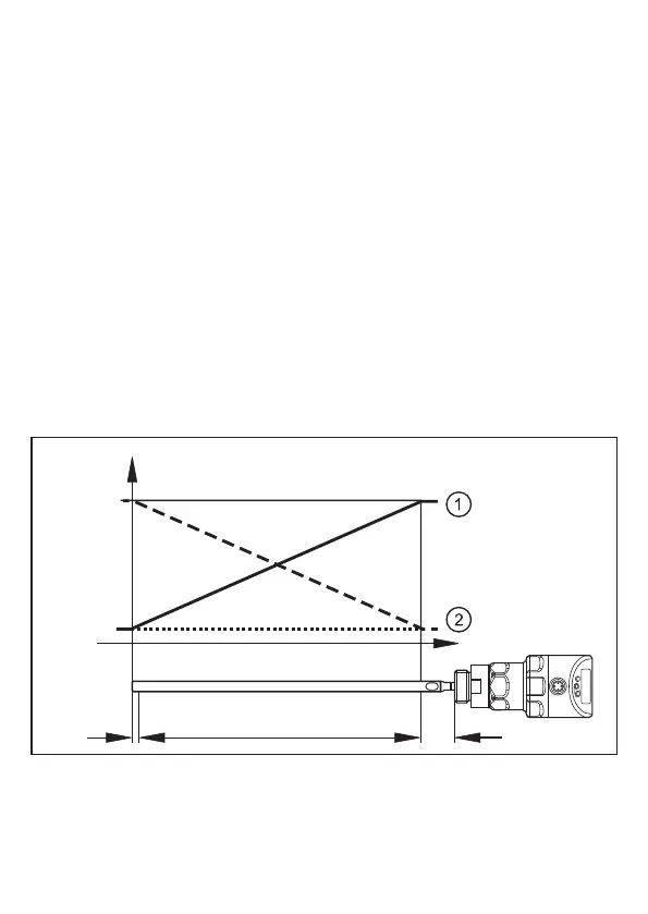
6.3.2 Analogue function
The unit provides an analogue signal proportional to the level� The analogue
output (OUT2) can be set ((→ 11.4.6) and the following illustrationss)�
[ou2] defines the output function of the analogue output:
- current output rising ([ou2] = [I]) or
- current output falling ([ou2] = [InEG]) (→ 11.4.6)
The analogue start point [ASP2] defines at which measured value the analogue
start value*
)
is provided (→ 11.4.7)
The analogue end point [AEP2] defines at which measured value the analogue
end value*
)
is provided (→ 11.4.7)
*) The analogue start value is 4 mA with [ou2] = [I] or 20 mA with [ou2] =
[InEG]�
The analogue end value is 20 mA with [ou2] = [I] or 4 mA with [ou2] = [InEG]�
Minimum distance between [ASP2] and [AEP2] = 20 % of the active zone�
Curve of the analogue signal (factory setting):
I [mA]
L
20
4
A
I2 I1

Table of Contents