EasyManua.ls Logo

Keithley 486 - Page 150

Keithley 486
233 pages
Print Icon
To Next Page IconTo Next Page
To Next Page IconTo Next Page
To Previous Page IconTo Previous Page
To Previous Page IconTo Previous Page
Loading...
SECTION 6
Themy of Gp?ration
ZERO CHECK *
LowrJa.%slw’
-----
----
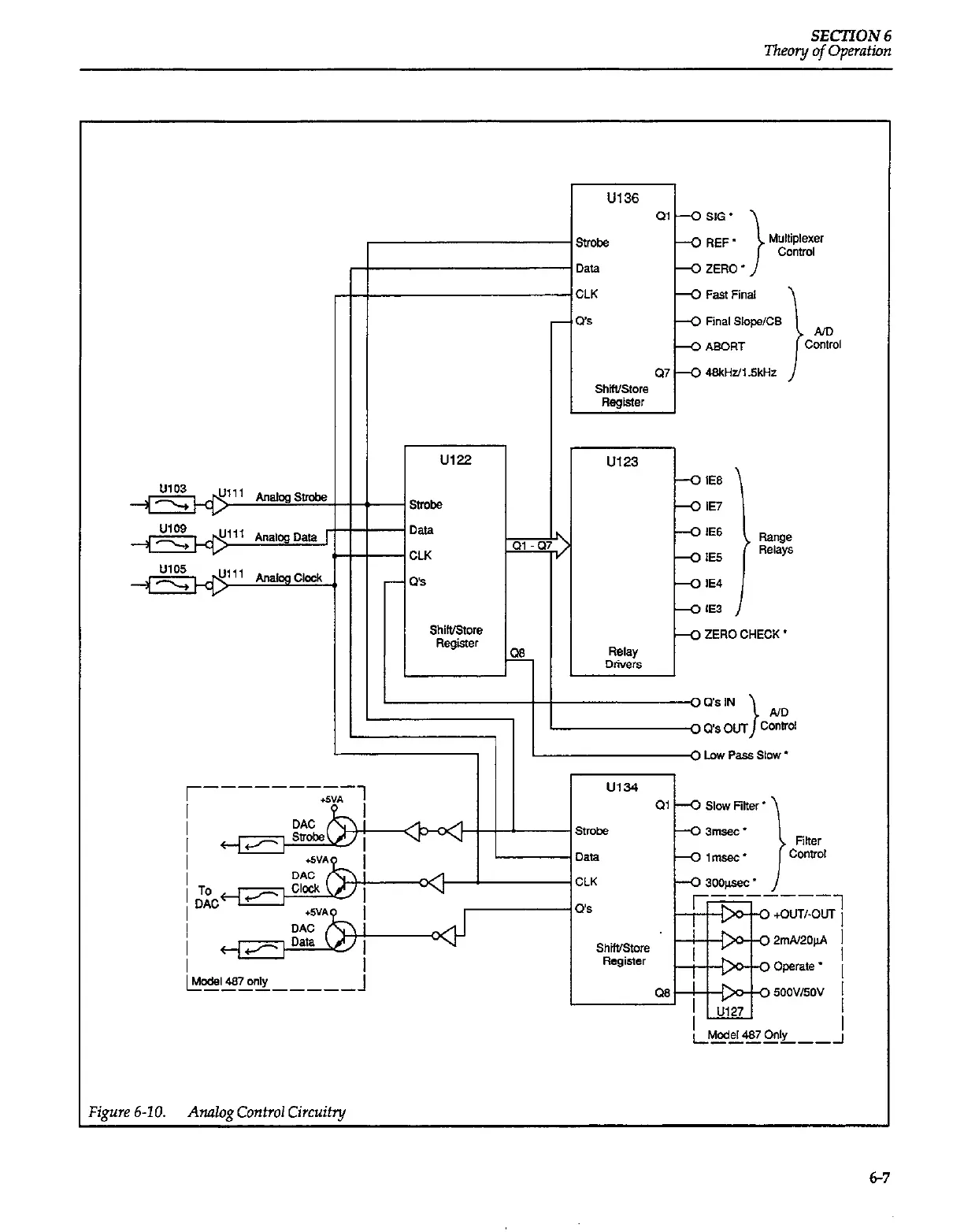
Figure 6-20.
Analog Control Circuitry
6-7

Table of Contents

Other manuals for Keithley 486

Related product manuals