EasyManua.ls Logo

Keysight Technologies N5221A - Functional Groups of the Network Analyzer

Keysight Technologies N5221A
368 pages
Print Icon
To Next Page IconTo Next Page
To Next Page IconTo Next Page
To Previous Page IconTo Previous Page
To Previous Page IconTo Previous Page
Loading...
Keysight N5221A/22A Service Guide 5-3
Theory of Operation
Network Analyzer System Operation
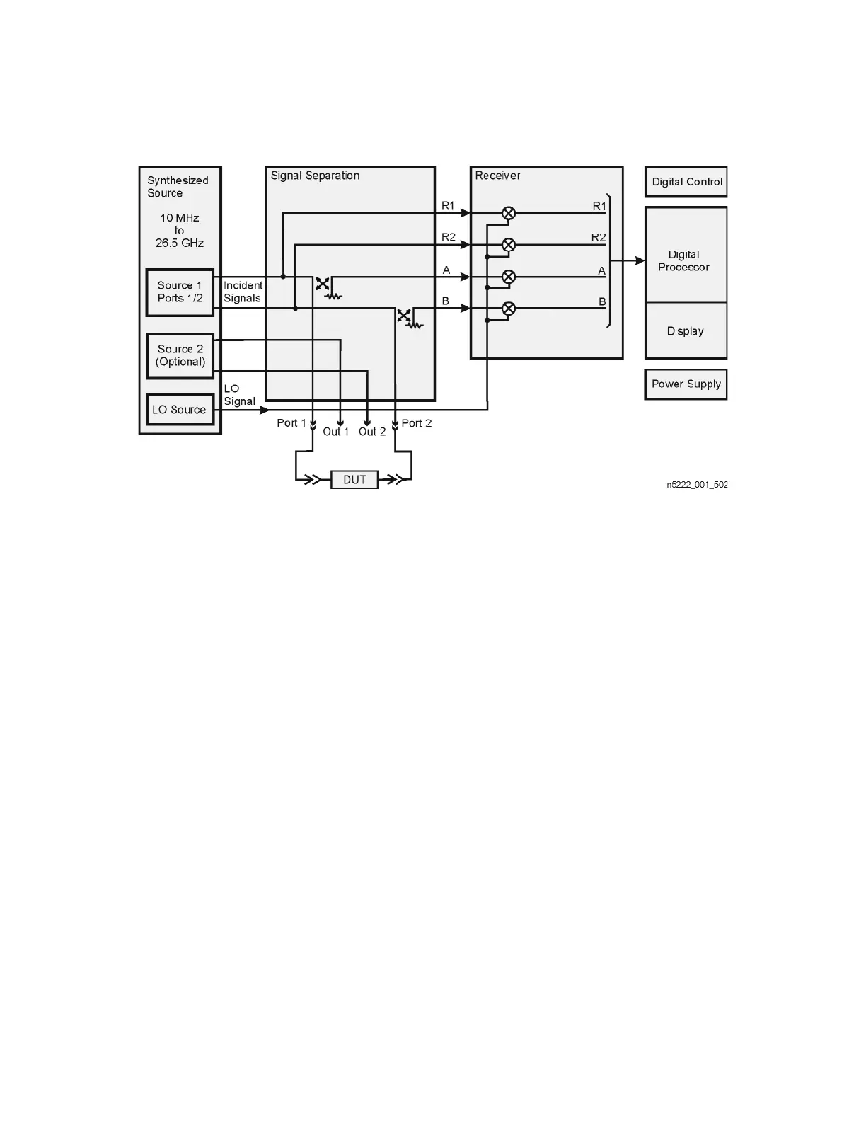
Figure 5-2 2-Port System Simplified Block Diagram
Functional Groups of the Network Analyzer
The operation of the network analyzer can be separated into major functional
groups. Each group consists of assemblies that perform a distinct function in
the instrument. Some of the assemblies are related to more than one group,
and all of the groups, to some extent, are interrelated and affect each other's
performance. The major functional groups are:
Synthesized Source Group
Signal Separation Group
Receiver Group
Digital Processor and Digital Control Group
Power Supply Group

Table of Contents

Related product manuals