EasyManua.ls Logo

Keysight Technologies N5221A - Non-Standards Compliant Verification

Keysight Technologies N5221A
368 pages
Print Icon
To Next Page IconTo Next Page
To Next Page IconTo Next Page
To Previous Page IconTo Previous Page
To Previous Page IconTo Previous Page
Loading...
Keysight N5221A/22A Service Guide 3-11
Tests and Adjustments
Non-Standards Compliant Verification
Non-Standards Compliant Verification
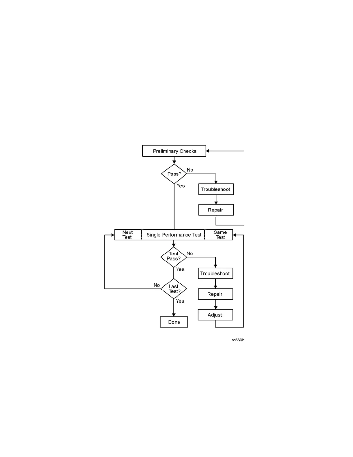
To meet the criteria for non-standards compliant verification, perform the
preliminary checks and the performance tests while stopping to troubleshoot.
Refer to Figure 3-2 for test flow. Troubleshoot and repair the first problem
encountered without continuing to other tests. After you troubleshoot, repair,
and adjust, repeat the last failed portion and generate a new set of data.
Figure 3-2 Non–Standards Compliant Verification Flowchart

Table of Contents

Related product manuals