EasyManua.ls Logo

Logosol B1651 - Page 79

Logosol B1651
115 pages
Print Icon
To Next Page IconTo Next Page
To Next Page IconTo Next Page
To Previous Page IconTo Previous Page
To Previous Page IconTo Previous Page
Loading...
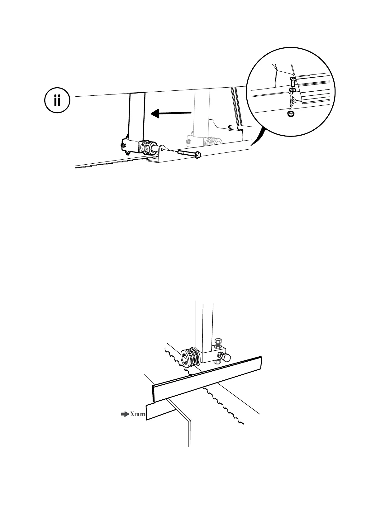
6. ADJUST THE PARALLELITY BETWEEN THE BAND BLADE AND THE RAILS
To ensure good operation of the sawmill it is important that the blade is parallel to the rails. Place a
straightedge on the blade as close as possible to one of the blade guide rollers. The straightedge should
rest on a tooth that is not set. Now, measure from the lower front edge of the straightedge (measurement
point 1) vertically down to a cross bunk. Note down the measurement. Move the sawhead forward and
measure from the rear edge of the straightedge down to the cross bunk (measurement point B). Compare
the measurements. They should be the same at measurement point 1 and measurement point 2.
Measurement point 1
X m
m
USER MANUAL
79

Table of Contents

Related product manuals