EasyManua.ls Logo

Logosol PH260 - 230 V 3-Phase Diagram

Logosol PH260
44 pages
Print Icon
To Next Page IconTo Next Page
To Next Page IconTo Next Page
To Previous Page IconTo Previous Page
To Previous Page IconTo Previous Page
Loading...
39
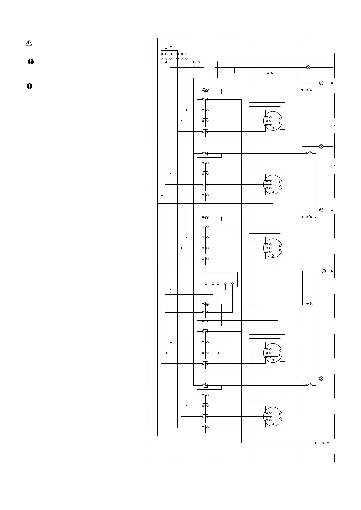
Circuit Diagram 230 V 3-phase
Lethal voltage! Faulty connection can result
in a fatal accident.
Note that only qualified electricians are
authorized to open/access the electrical
equipment.
Ensure that the power is disconnected before
opening the electrical system.
2
1
L3 T3
KONT.
KONT.
KONT.
L2 T2
L1 T1
A1 A2
TILL
4 3
3
2
1
4
5
TERMOKONT.
TILL
VIT LAMPA
MOTOR
MATNINGSMOTOR
K5
GUL/GRÖN
FRÅN
8
5
Total beräknad max-effekt 12,4 kW
Märksström 32 Amp (Vid 32 Amp kan inte maxeffekt tas ut på alla motorer samtidigt)
Anslutning 230 V, 3-fas
Strömförsörjningen skall vara kopplad till arbetsbrytare/säkerhetsbrytare
L3 T3
KONT.
KONT.
KONT.
L2 T2
L1 T1
4 3
3
2
1
4
5
C1
L2 V2 I SP
A1 A2
4 3
2 1
BROMSKORT 230V
K4
TERMOKONT.
MOTOR
GUL/GRÖN
ÖVERKUTTER
L3 T3
KONT.
KONT.
KONT.
L2 T2
L1 T1
A1 A2
HUVBR.
TILL
3
4
4 3
3
2
1
4
5
TERMOKONT.
L3 T3
KONT.
KONT.
KONT.
L2 T2
L1 T1
A1 A2
TILL
4 3
3
2
1
4
5
TERMOKONT.
L3 T3
KONT.
KONT.
KONT.
L2 T2
L1 T1
A1 A2
TILL
4 3
3
2
1
4
5
TERMOKONT.
TILL
VIT LAMPA
TILL
VIT LAMPA
TILL
VIT LAMPA
VIT LAMPA
5
6
MOTOR
1
MOTOR
2
MOTOR
3
9
TRANS
UNDERKUTTER
K1
K2
K3
SPÄNNING
SÄKRING
GUL/GRÖN
GUL/GRÖN
230/230
GUL/GRÖN
VERTIKALKUTTER (GER)
VERTIKALKUTTER (VÄNSTER)
ELSKÅP
MANÖVERPANEL
ELSCHEMA PANELHYVEL PH260, 230 VOLT 3-fas, Nr 424-
L1 L2 L3Pe, Jord
SÄKRING 16 A
SÄKRING
4
7
TILL
TILL
VIT LAMPA
6
CIRCUIT DIAGRAM PLANER/MOULDER, 230 V 3-PHASE, NO 424-
ELECTRIC BOX
CONTROL PANEL
FUSE 16 A
FUSE
FUSE
Pe. Earth
MAIN SWITCH
WHITE LAMP
VOLTAGE ON
WHITE LAMP
ON
ON
C1
C2
C3
C4
C5
ON
ON
ON
ON
CONT.
CONT.
CONT.
CONT.
CONT.
CONT.
CONT.
CONT.
CONT.
CONT.
CONT.
CONT.
CONT.
CONT.
CONT.
LOWER CUTTER
SIDE CUTTER (RIGHT)
SIDE CUTTER (LEFT)
UPPER CUTTER
FEED MOTOR
YELLOW/GREEN
YELLOW/
GREEN
YELLOW/GREEN
YELLOW/
GREEN
YELLOW/
GREEN
WHITE LAMP
ON
WHITE LAMP
ON
WHITE LAMP
ON
WHITE LAMP
ON
OFF
Total continuous output 12.4 kW
Rated input 32 Amp (at 32 Amp the maximum output cannot be drawn from all motors
simultaneously).
The power supply must be connected to a safety cut-out.
BRAKE CARD 230 V
OVER-
HEATING
PROTEC-
TION
OVER-
HEATING
PROTEC-
TION
OVER-
HEATING
PROTEC-
TION
OVER-
HEATING
PROTEC-
TION
OVER-
HEATING
PROTEC-
TION

Related product manuals