EasyManua.ls Logo

Logosol PH260 - Safety Distance Zones

Logosol PH260
44 pages
Print Icon
To Next Page IconTo Next Page
To Next Page IconTo Next Page
To Previous Page IconTo Previous Page
To Previous Page IconTo Previous Page
Loading...
5
If a castor set is tted to the machine: Make sure the oor is
at and level. Make reliable barriers between the machine and
differences in oor level or inclined oor surfaces, to prevent the
machine from accidentally beginning to move due to gravity.
The machine must not be modied or added to. Only use original
parts from Logosol. After servicing, the machine must be
restored to its original condition.
The machine may not be used in temperatures below 0°C
(32°F).
The machine’s warning labels are there for everyone’s safety.
Damaged or illegible labels must be replaced.
Moving the machine: The machine must not be lifted manually.
In the upper edge of the machine chassis there are four 32
mm holes intended for lifting straps. The machine can also be
lifted with a fork-lift truck or a pallet lift. In this case the machine
should stand on and be strapped to a Euro pallet. For moving
the machine on at and level oors Logosol can as accessory
provide a castor set (ref. no. 7500-000-1025) to be tted under
the chassis. If the castor set is tted to the machine, reliable
barriers must be made between the machine and differences in
oor level, such as stairs or inclined oor surfaces, to prevent the
machine from accidentally beginning to move due to gravity.
Risk of kickbacks.
Never stand behind the work piece when it is being fed into
the machine. The board can be hurled out of the machine.
Also knots, splinters or pieces of steel can be hurled out with
great force. Always stand at the side of the in-feed table.
Minimum length of the work piece: 600 mm (24”).
Acquaint yourself with all functions and setting possibilities
before starting to use the machine.
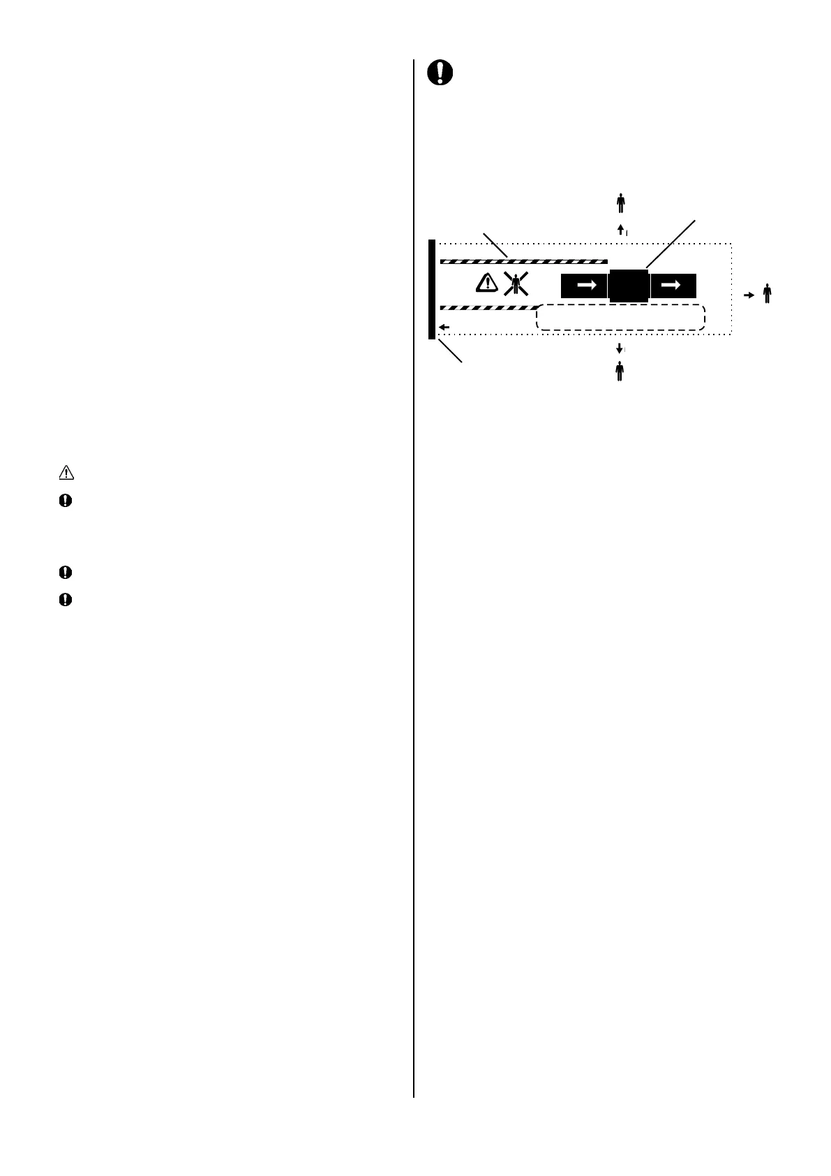
Safety Distance
The safety distance for persons other than the operator is 3 m (10
ft) from the sides of the machine or 8 m (26 ft) from the in- and
out-feed sides during operation. Use some kind of demarcation
so that no one can unintentionally come within the risk area.
The operator’s working area
Barrier behind
the in-feed side
Demarcation
PH 260 with in- and
out-feed tables.
Risk
area
3m
3m
8m
Max. 8m

Related product manuals