EasyManua.ls Logo

LSIS H100-2 - Page 187

LSIS H100-2
610 pages
Print Icon
To Next Page IconTo Next Page
To Next Page IconTo Next Page
To Previous Page IconTo Previous Page
To Previous Page IconTo Previous Page
Loading...
173
Learning Advanced Features
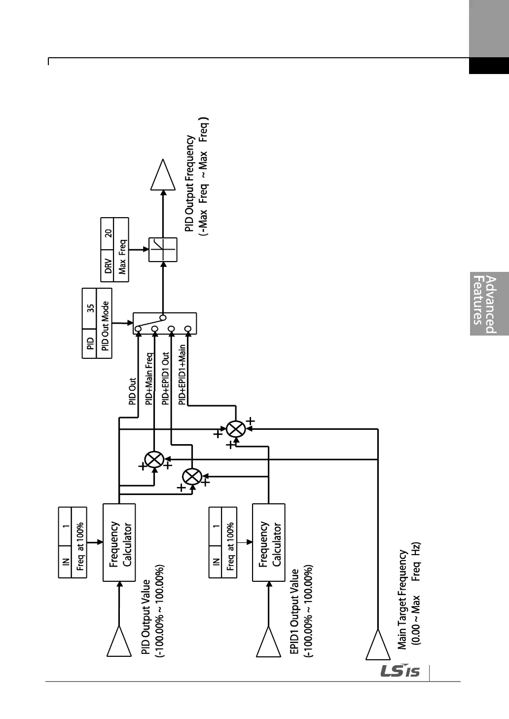
PID Output Mode Block

Table of Contents

Related product manuals