EasyManua.ls Logo

LSIS H100-2 - Pipe Break Detection

LSIS H100-2
610 pages
Print Icon
To Next Page IconTo Next Page
To Next Page IconTo Next Page
To Previous Page IconTo Previous Page
To Previous Page IconTo Previous Page
Loading...
Learning Advanced Features
208
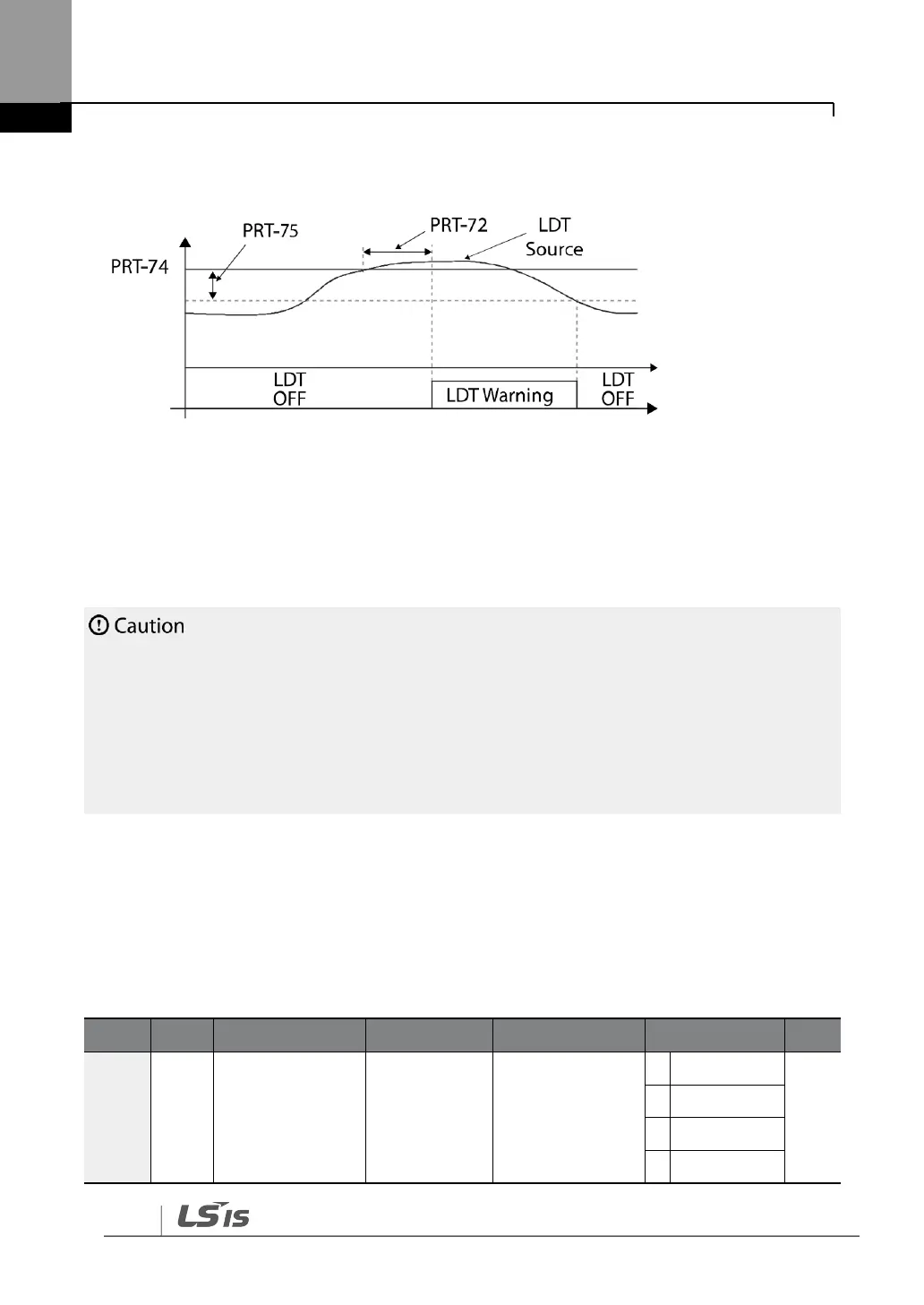
<An example of PRT-71 set to (1: Above Level )>
As shown in the figure above, level detection can be carried out (relay output ison‘) as the
output frequency is above PRT-76 and the detection value is greater than the value of PRT-
74. The LDT operation is released if the value is less than the value subtracted from the value of
band of, when the value of the feedback is set from PRT-74 to PRT-75.
The LDT operation is carried out if the inverter operation is above PRT-74.
Modify PRT-74 and PRT-75 appropriately when modifying LDT Source of PRT-71.
PRT-74 and PRT-75 become default value if the LDT Source is modified.
PRT-77 (Restart DT) and PRT-08 (RST restart) features operate separately.
The inverter waits until the delay time set at PRT-73 (LDT Dly Time) before it operates
based on the setting in LDT-70 when the level detection time condition is met.
5.19 Pipe Break Detection
This function detects Pipe Breaks while the PID operation is on. The fault trip or a warning
signal will occur if the feedback does not reach the level set by users during the operation
with the maximum output (PID maximum output or the maximum speed set).
Group
Code
Name
LCD Display
Parameter Setting
Setting Range
Unit
PRT
60
Pipe Break
Detection setting
PipeBroken
Sel
0
0
None
1
Warning
2
Free-Run
3
Dec

Table of Contents

Related product manuals