EasyManua.ls Logo

LSIS H100-2 - Page 52

LSIS H100-2
610 pages
Print Icon
To Next Page IconTo Next Page
To Next Page IconTo Next Page
To Previous Page IconTo Previous Page
To Previous Page IconTo Previous Page
Loading...
Installing the Inverter
38
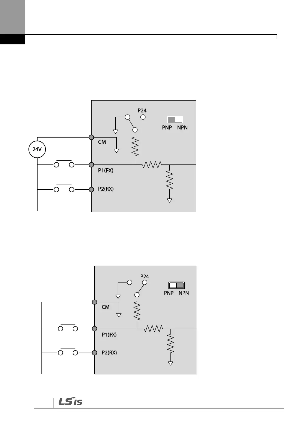
PNP Mode (Source)
Select PNP using the PNP/NPN selection switch (SW2). Note that the factory default
setting is NPN mode. CM is is the common ground terminal for all analog inputs at the
terminal, and P24 is 24 V internal source. If you are using an external 24 V source, build a
circuit that connects the external source (-) and the CM terminal.
NPN Mode (Sink)
Select NPN using the PNP/NPN selection switch (SW2). Note that the factory default
setting is NPN mode. CM is is the common ground terminal for all analog inputs at the
terminal, and P24 is 24 V internal source.

Table of Contents

Related product manuals