EasyManua.ls Logo

LSIS XBF-AH04A - Page 217

LSIS XBF-AH04A
618 pages
Print Icon
To Next Page IconTo Next Page
To Next Page IconTo Next Page
To Previous Page IconTo Previous Page
To Previous Page IconTo Previous Page
Loading...
XGB Analog edition manual
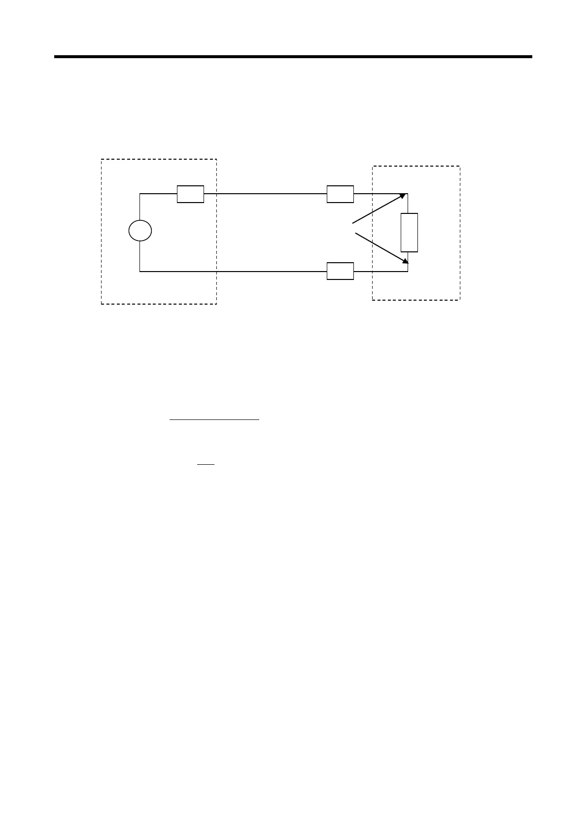
(8) Relation between voltage input precision and cable length
In voltage input system, the cable length between the module and transmitter or sensor
influences on the converted digital value of the module. The value is as follows.
Where,
Rc: line resistance of the wire,
Rs: internal resistance of the transmitter or sensor,
Ri: internal resistance of voltage input module (1 )
Vin: voltage applied to the analog input
% Vi: error in the converted value caused by source and cable length in voltage
input(%)
( )
[ ]
RiRcRs
VsRi
Vin
+×+
×
=
2
%1001% ×
=
Vs
Vin
Vi
Vs
Rs
Rc
Rc
Ri
Load
Analog input (Voltage)
Vin
6 - 20

Table of Contents

Related product manuals