EasyManua.ls Logo

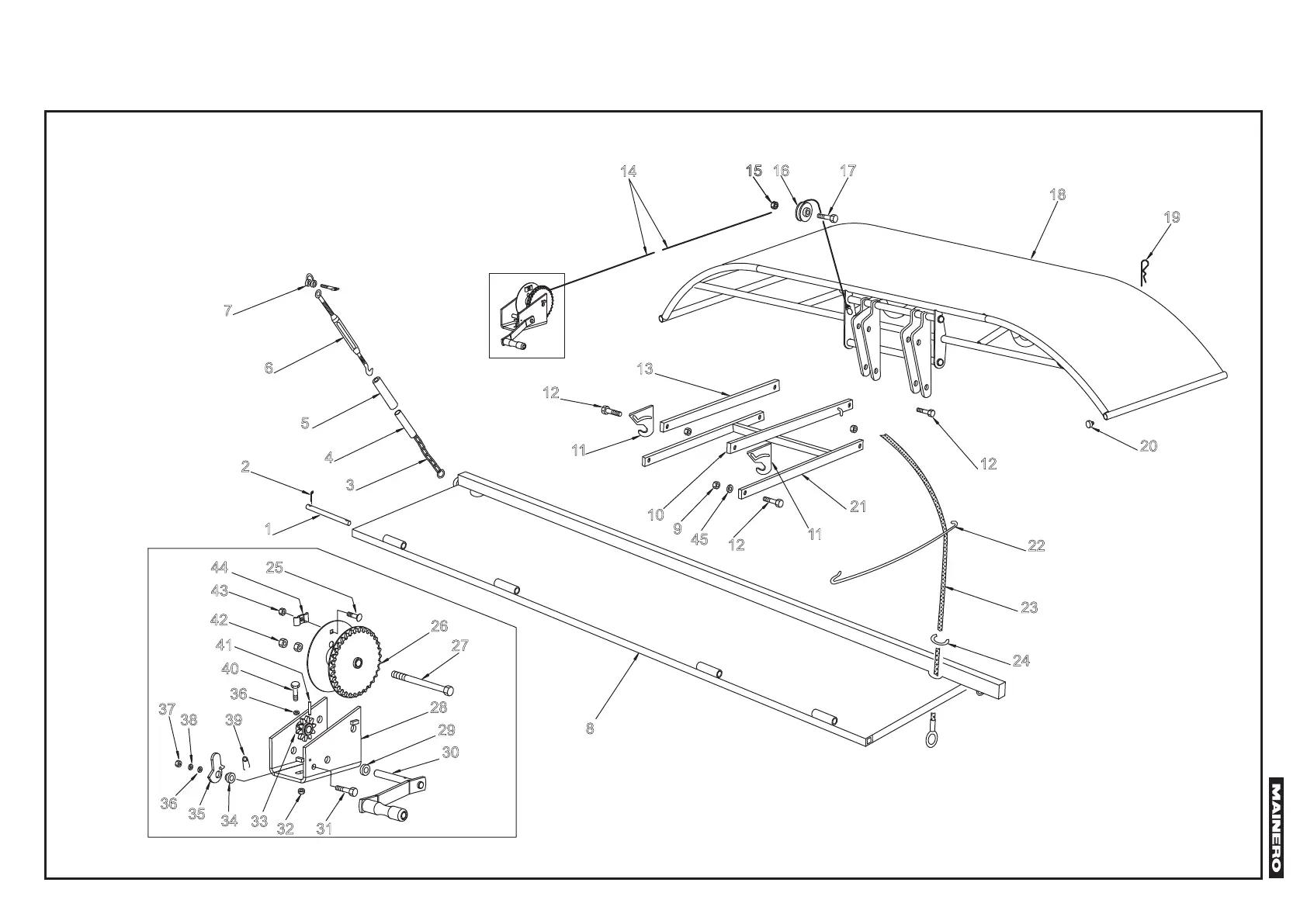
mainero 2240 - Ilustration N° 6: LOWER TRAY and HANGER

mainero 2240
80 pages
Print Icon
To Next Page IconTo Next Page
To Next Page IconTo Next Page
To Previous Page IconTo Previous Page
To Previous Page IconTo Previous Page
Loading...
57
ILLUSTRATION Nº 6 : LOWER TRAY AND HANGER
1
2
3
4
5
6
7
12
9
10
11
12
13
14
21
11
22
23
24
8
27
26
28
29
30
3132
34
35
37
36
38 39
36
40
41
42
43
44 25
33
45
15
18
19
12
20
15 16 17