EasyManua.ls Logo

MAXA MI26A3 - Betrieb der Fernbedienung; Name und Anzeigefunktionen auf dem Display der Fernbedienung

MAXA MI26A3
Print Icon
To Next Page IconTo Next Page
To Next Page IconTo Next Page
To Previous Page IconTo Previous Page
To Previous Page IconTo Previous Page
Loading...
44
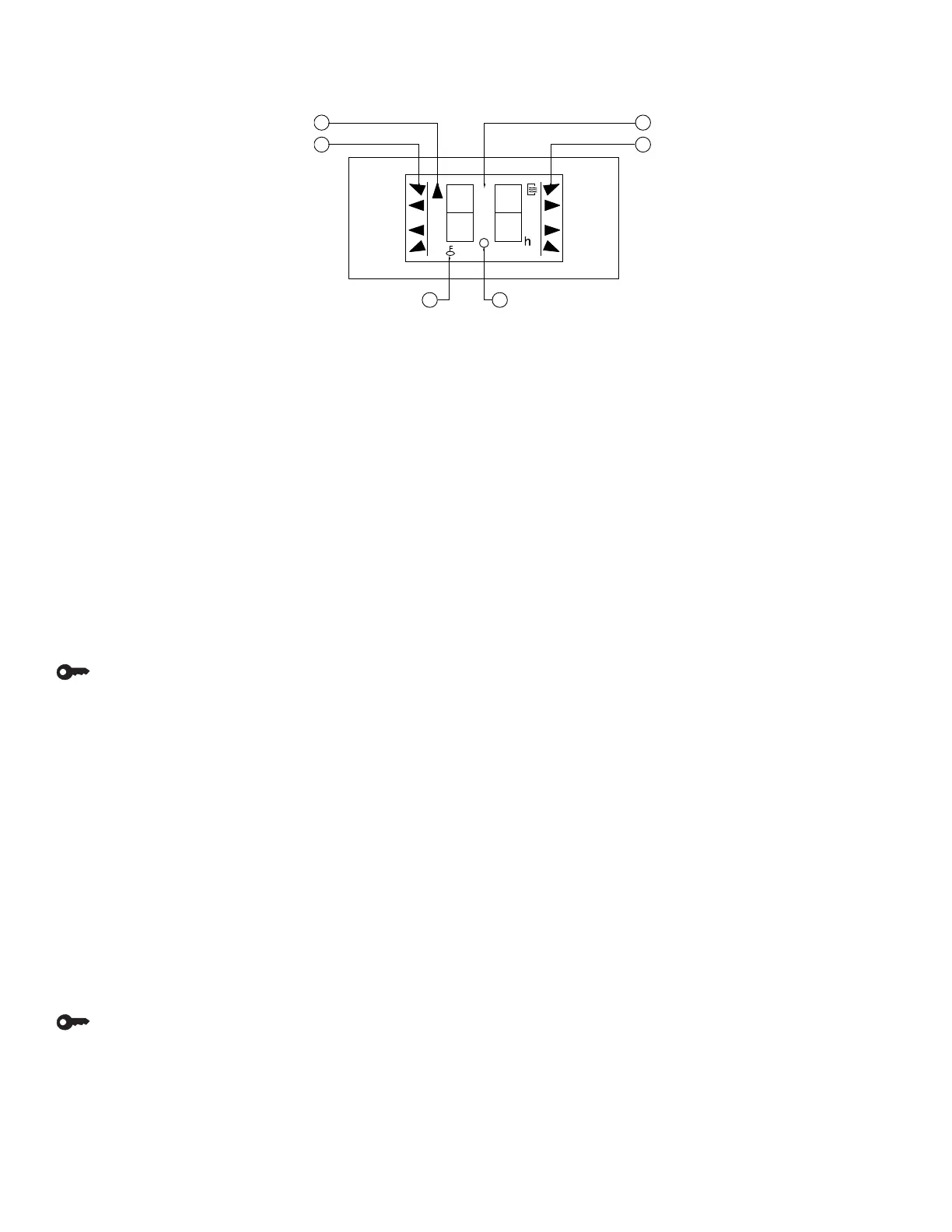
4.4. Namen und Anzeigefunktionen auf dem Display
Display
AUTO
COOL
DRY
HEAT
1
6
2
3
4
5
FAN
HIGH
MED
LOW
Fig. 2
Anzeige Übertragung: Questo indicatore lampeggia quando il telecomando sta inviando il segnale all’unità interna.
Anzeige MODE: Zeigt den aktiven Modus AUTO, COOL, DRY und HEAT. HEAT ist nur für die Einheiten in
Wärmepumpe aktiviert.
Anzeige LOCK: wird durch Drücken der Taste LOCK angezeigt. Erneutes Drücken löscht die Anzeige.
Anzeige TIMER: beschreibt die Einstellung eines TIMERS. Wenn nur der Einschalttimer programmiert ist, wird die
Startzeit angezeigt. Wenn nur der Ausschalttimer (Sleep) eingestellt ist, wird die Ausschaltzeit angezeigt. Wenn beide aktiv
sind, wird TIMER ON-OFF angezeigt.
Anzeige FAN (Ventilator): Wenn Sie die Taste FAN, blinkt diese Anzeige.
Display: Dieser Bereich zeigt die eingestellte Solltemperatur an und bei aktivem TIMER die entsprechenden Zeiten.
HINWEIS: Alle möglichen anzeigbaren Elemente sind in Abbildung 2 dargestellt.
4.5. Betrieb der Fernbedienung
Installieren / Austauschen Batterien
Die Fernbedienung benötigt 2 Alkali-Batterie (R03/Ir03X2).
1. Um die Batterien einzusetzen, die Abdeckung auf der Rückseite entfernen und die Batterien mit der richtigen Polarität
einsetzen.
2. Um alte und aufgebrauchte Batterien zu ersetzen, in gleicher Weise fortfahren.
HINWEIS:
1. Wenn Sie die Batterien austauschen, verwenden Sie keine alten Batterien. Diese können Fehlfunktion der
Fernbedienung verursachen.
2. Wenn die Fernbedienung nicht für mehrere Wochen verwendet wird, sind die Batterien zu entfernen. Ansonsten könnten
sie auslaufen und/ oder die Fernbedienung zerstören.
3. Die durchschnittliche Lebensdauer der Batterie beträgt etwa sechs Monate.
4. Ersetzen Sie die Batterien, wenn kein "Beep" von der Inneneinheit bestätigt wird, nachdem Sie versucht haben, mit der
Fernbedienung einen Befehl an die Einheit zu versenden oder die Einstellung nicht angezeigt wird.
Automatikbetrieb
Wenn die Klimaanlage für den Einsatz bereit ist, Versorgungsspannung einschalten und prüfen, ob die Anzeige an der
Inneneinheit (Display) blinkt.
1. Drücken Sie die MODE-Taste, um den AUTO-Modus zu wählen. Bei mehreren vernetzten Einheiten wird im Auto-Modus
der Kühlmodus eingestellt, um Konflikte zu vermeiden.

Table of Contents

Related product manuals