EasyManua.ls Logo

Mazda 6 MPS 2005 - Page 47

Mazda 6 MPS 2005
112 pages
Print Icon
To Next Page IconTo Next Page
To Next Page IconTo Next Page
To Previous Page IconTo Previous Page
To Previous Page IconTo Previous Page
Loading...
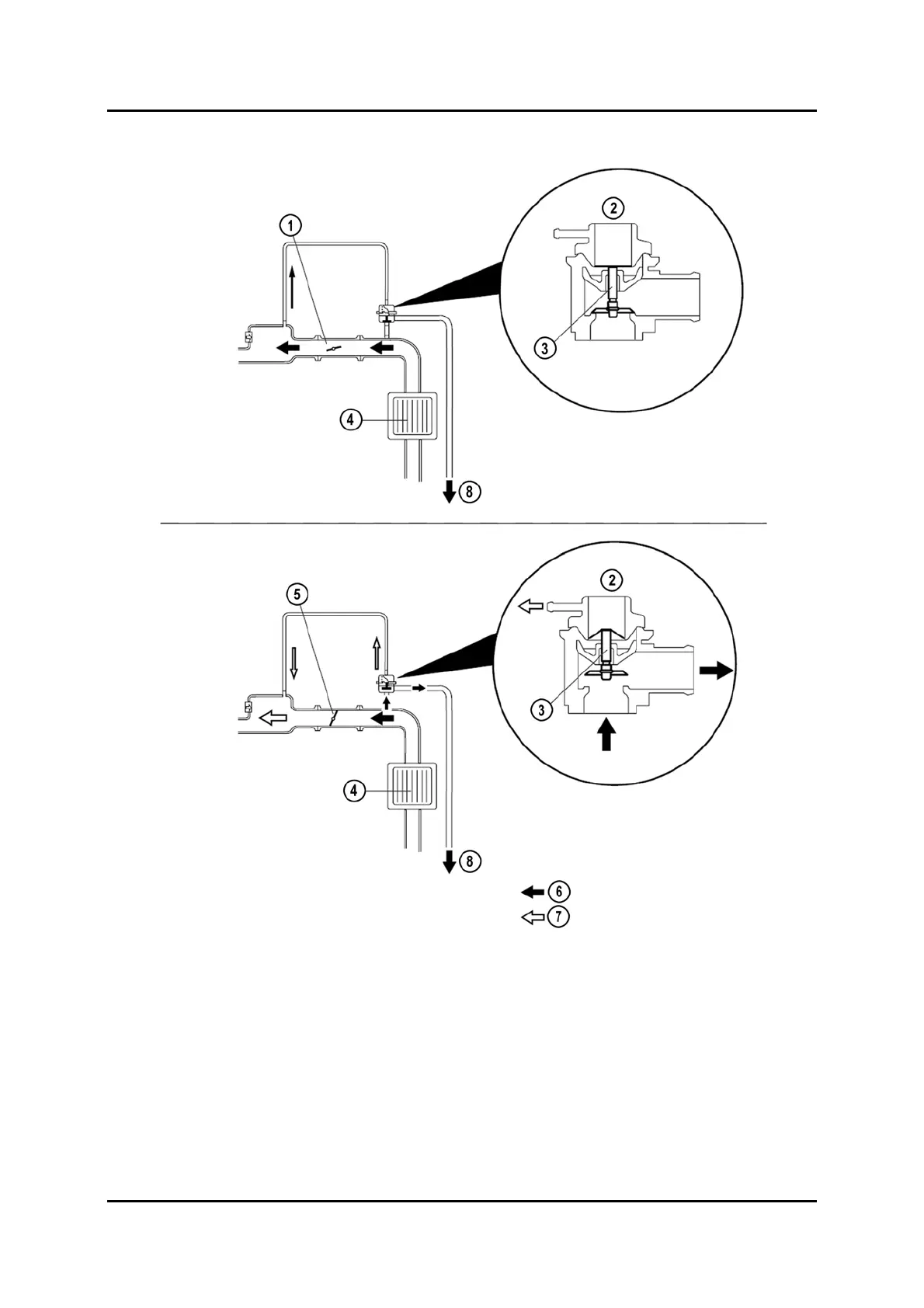
Engine L3 Turbo
M6-MPS_01029
1 Throttle valve: open 5 Throttle valve: closed
2 Air bypass valve 6 Positive pressure
3 Rod 7 Vacuum
4 Charge air cooler 8 To upstream of the turbocharger
Service Training Mazda6 MPS Supplement 01-29

Table of Contents

Related product manuals