EasyManua.ls Logo

Miller Spoolmate 150 - SECTION 7 - ELECTRICAL DIAGRAMS

Miller Spoolmate 150
36 pages
Print Icon
To Next Page IconTo Next Page
To Next Page IconTo Next Page
To Previous Page IconTo Previous Page
To Previous Page IconTo Previous Page
Loading...
OM-272384 Page 26
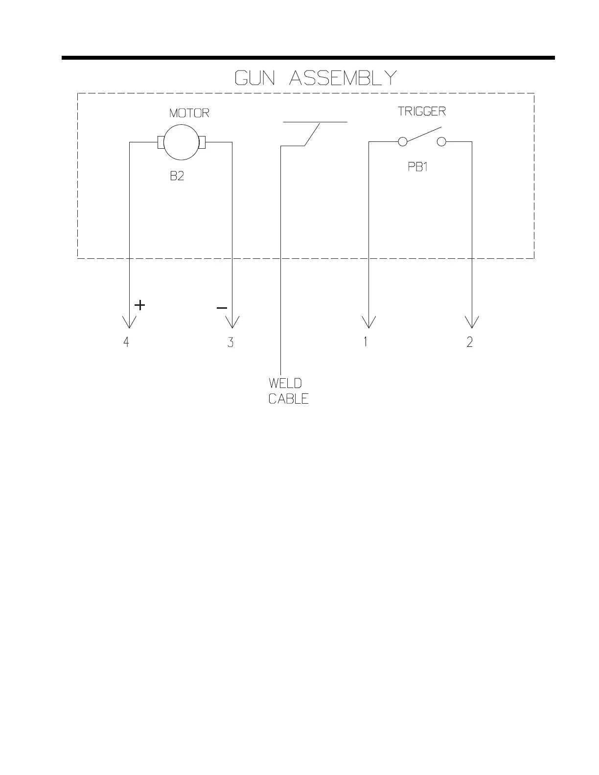
SECTION 7 ELECTRICAL DIAGRAMS
OM-234 016 Page 8
SECTION 3 ELECTRICAL DIAGRAMS
Figure 6-1. Circuit Diagram For Spoolmate
186 451
Black
White
Red
Blue
3 to 18 VDC
Figure 7-1. Circuit Diagram For Spoolmate

Related product manuals