EasyManua.ls Logo

MSA Altair - Table 3-1. Calibration;Bump Test Values

MSA Altair
109 pages
Print Icon
To Next Page IconTo Next Page
To Next Page IconTo Next Page
To Previous Page IconTo Previous Page
To Previous Page IconTo Previous Page
Loading...
Table3-1.Calibration/BumpTestValues
INSTRUMENTTYPE BUMPTESTGAS CALIBRATIONGAS
CO 60 ppm 60 ppm
H
2
S 40 ppm 40 ppm
O
2
<19%* 20.8%
* The O
2
bump test can also be performed by exhaling on the sensor inlet for
approximately three to five seconds.
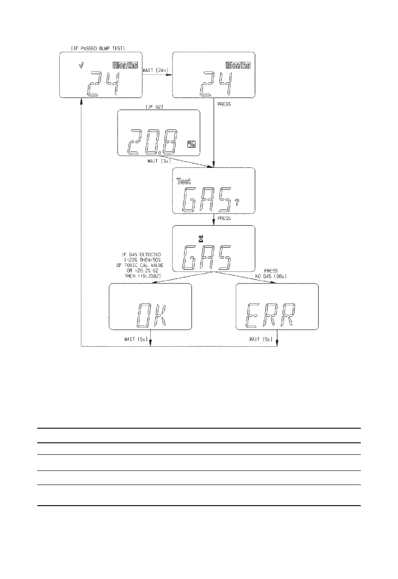
Figure 3-1. Bump Test Flow Chart
3-3

Table of Contents

Other manuals for MSA Altair

Related product manuals