EasyManua.ls Logo

MSA ORION - Page 46

MSA ORION
244 pages
Print Icon
To Next Page IconTo Next Page
To Next Page IconTo Next Page
To Previous Page IconTo Previous Page
To Previous Page IconTo Previous Page
Loading...
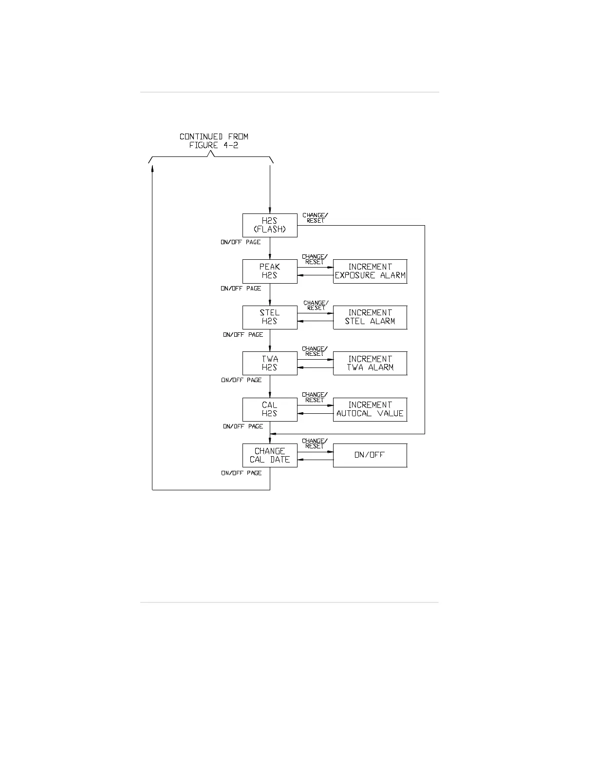
Figure 4-3. Instrument Setup Mode
(part 2 of 2)
Chapter 4, Setting up the Multigas Detector Operating Manual
4-8

Table of Contents

Other manuals for MSA ORION

Related product manuals