EasyManua.ls Logo

Myray hyperion - Selecção Do Tamanho Do Paciente (E Factores Técnicos); Remoção Do Sensor

Myray hyperion
Print Icon
To Next Page IconTo Next Page
To Next Page IconTo Next Page
To Previous Page IconTo Previous Page
To Previous Page IconTo Previous Page
Loading...
150 PT
hyperion - INSTRUÇÕES DE USO
5.4 Selecção do tamanho do paciente (e factores técnicos)
Depois de posicionar o paciente, hyperion identica automaticamente o tamanho através da leitura de dados mor-
fométricos, e de acordo com o tipo de exame, o hyperion calcula os factores técnicos recomendados.
Caso queira-se alterar estes factores, seleccione o factor a ser alterado e prema o botão
da direita.
Seleccionado o factor é possível modicar o valor utilizando os botões
e .
Caso queira-se voltar às congurações recomendadas por hyperion, seleccione o campo “Auto” com o botão
da
direita, prema então
ou .
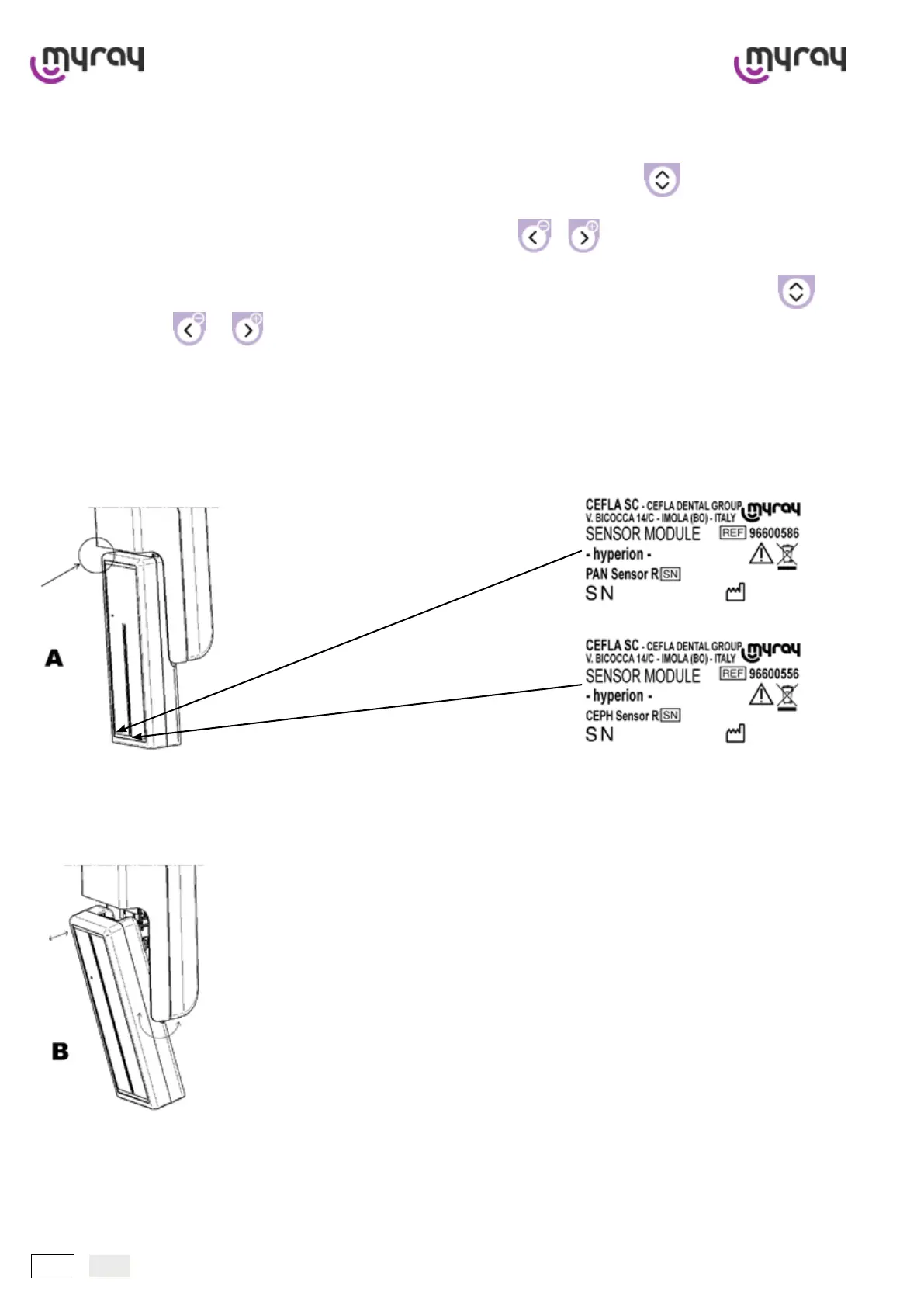
5.5 Remoção do sensor
Durante o funcionamento, o sensor é bloqueado mecanicamente e não pode ser retirado.
O hyperion se prepara automaticamente para a remoção ou introdução quando se selecciona um tipo de exame dife-
rente do exame em curso.
O sensor desce automaticamente quando necessário. A posição se reconhece facilmente quando se observa que o
sensor está livre na área superior (A).
Segure o sensor com as duas mãos e exercite um movimento de rotação (B) para soltá-lo ou para inseri-lo. Será sen-
tido um disparo mecânico a conrmar que a operação é correcta.
ATENÇÃO! movimente o sensor agarrando-o rmemente com as duas mãos, evite quedas e colisões bruscas.
Ao terminar a operação, prema a tecla “reset”, o sensor alcançará a posição de trabalho. Se o sensor estiver instalado
correctamente, o LED verde “ready” no console acender-se-á.

Table of Contents

Related product manuals