EasyManua.ls Logo

NLB 1012D - Page 224

Default Icon
244 pages
Print Icon
To Next Page IconTo Next Page
To Next Page IconTo Next Page
To Previous Page IconTo Previous Page
To Previous Page IconTo Previous Page
Loading...
Revision 7
~
0
O>
"'
..
© Copyright April, 2002 NLB Corporation
N
O>
9-36
-
....
0
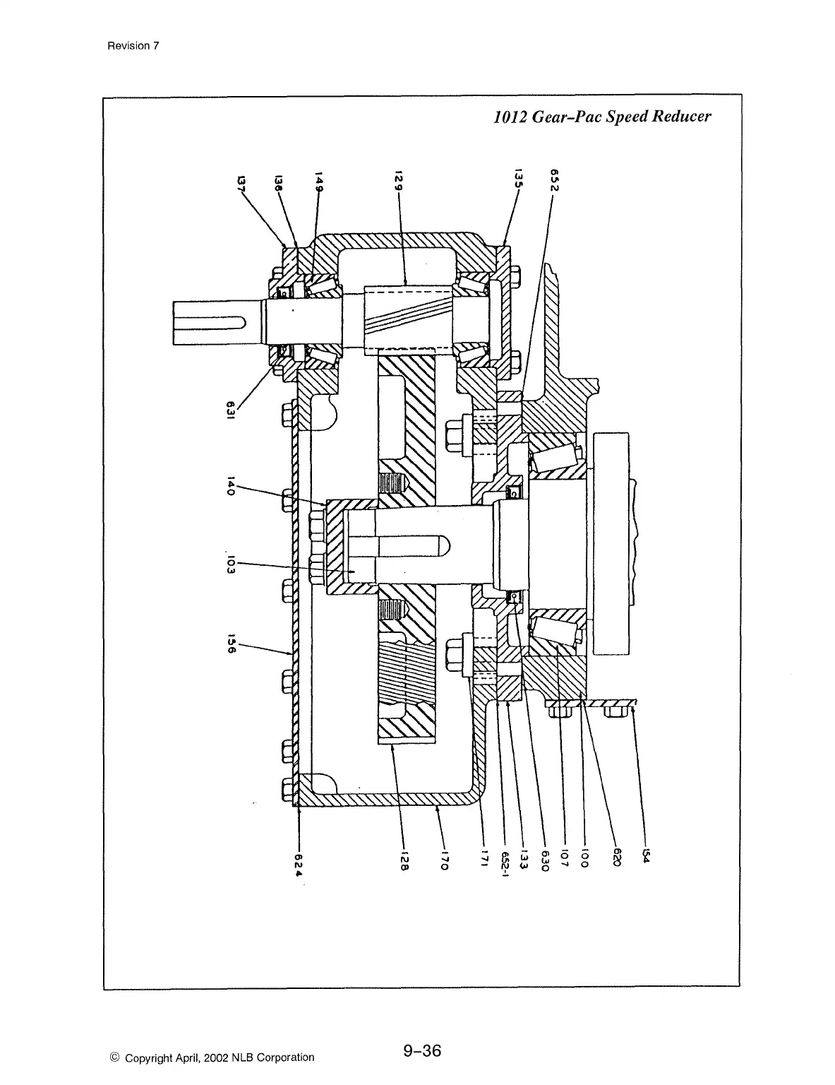
1012 Gear-Pac Speed Reducer
Ol
0 0
~
....
0

Table of Contents

Related product manuals