EasyManua.ls Logo

Oakton CON 11 - Page 35

Oakton CON 11
80 pages
Print Icon
To Next Page IconTo Next Page
To Next Page IconTo Next Page
To Previous Page IconTo Previous Page
To Previous Page IconTo Previous Page
Loading...
Instruction Manual CON 11/110
31
5
10
sec
sec
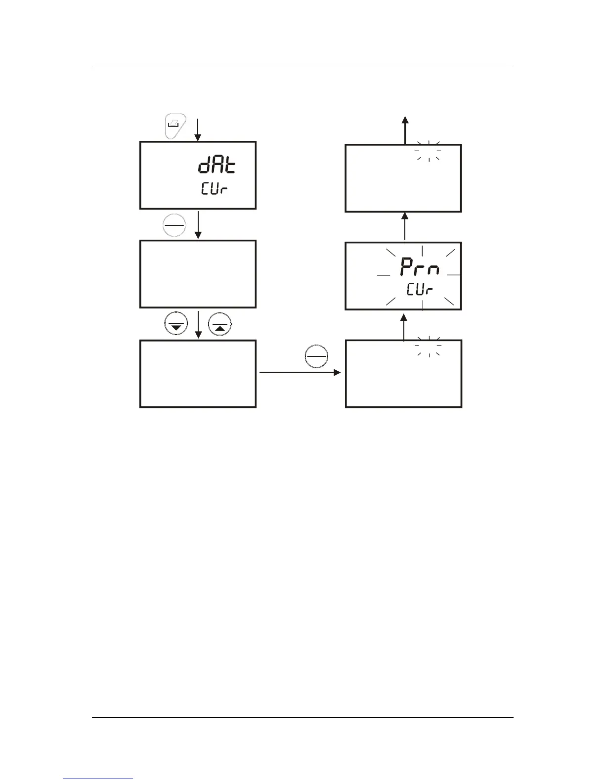
From measurement mode
"MEM" annunicator will keep
flashing during measurement
mode & data will be printed on
pre-set timed interval.
To stop, press PRINT key
ENTER
HOLD
ENTER
HOLD
MI
MR
Set timed interval for
printing, eg, every 10
seconds
MEAS MEM
READY
21.0
1413
°C
Flash for 0.5 seconds
Print on set timed
interval
MEAS MEM
READY
21.0
1413
°C
µ
S
ATC
µ
S
ATC
Figure 27: Print data on timed interval

Table of Contents

Related product manuals