EasyManua.ls Logo

Oakton CON 11 - Printing Current Data Manually; Printing Data on Timed Interval

Oakton CON 11
80 pages
Print Icon
To Next Page IconTo Next Page
To Next Page IconTo Next Page
To Previous Page IconTo Previous Page
To Previous Page IconTo Previous Page
Loading...
Instruction Manual CON 11/110
30
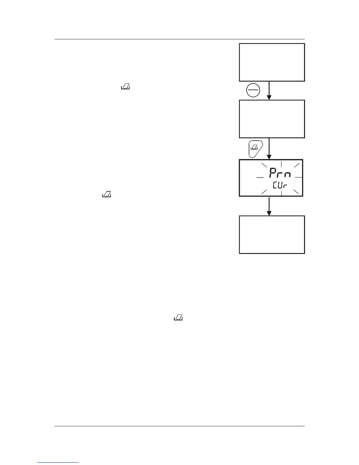
7.2.1 Printing Current Data Manually
To manually print any data that is currently being measured:
1. From measurement mode, press HOLD/ENTER key
to freeze reading.
2. Press PRINT ( ) key.
3. The “Prn – CUr” annunciator will appear and flash
for about 0.5 seconds. The data is transmitted to the
printer or computer.
4. The meter returns to measurement mode.
5. Repeat steps 1 to 3 for next measurement.
7.2.2 Print Data on Timed Interval
This feature is useful to automate printing and downloading
‘live’ measurement values into computer. The time interval
setting can range from 5 to 30 seconds.
1. From conductivity or TDS measurement mode, press
PRINT ( ) key.
2. The “dAt/Cur” screen appears .Press the
HOLD/ENTER key.
3. The “SEC 5” screen appears. The default value is 5
seconds time interval.
4. Press MI/ or MR/ key to set a value suitable for
your application.
5. Press HOLD/ENTER key.
6. The meter goes into measurement mode with MEM
annunciator flashing.
7. At a pre-set time interval, the screen flashes “Prn/CUr” momentarily (printing
data) and switches back to measurement mode with MEM annunciator
flashing.
8. To stop printing, press PRINT ( ) key. The MEM annunciator disappears
and the meter is on measurement mode.
MEAS
READY
1413
ATC
°C
22.3
µ
S
MEAS
READY
1413
ATC
°C
22.3
µ
S
MEAS
READY
HOLD
1413
ATC
°C
22.3
µ
S
HOLD
ENTER
Flash for 0.5 seconds
Figure 26: Print
Current data manually

Table of Contents

Related product manuals