EasyManua.ls Logo

Oakton CON 11 - Page 37

Oakton CON 11
80 pages
Print Icon
To Next Page IconTo Next Page
To Next Page IconTo Next Page
To Previous Page IconTo Previous Page
To Previous Page IconTo Previous Page
Loading...
Instruction Manual CON 11/110
33
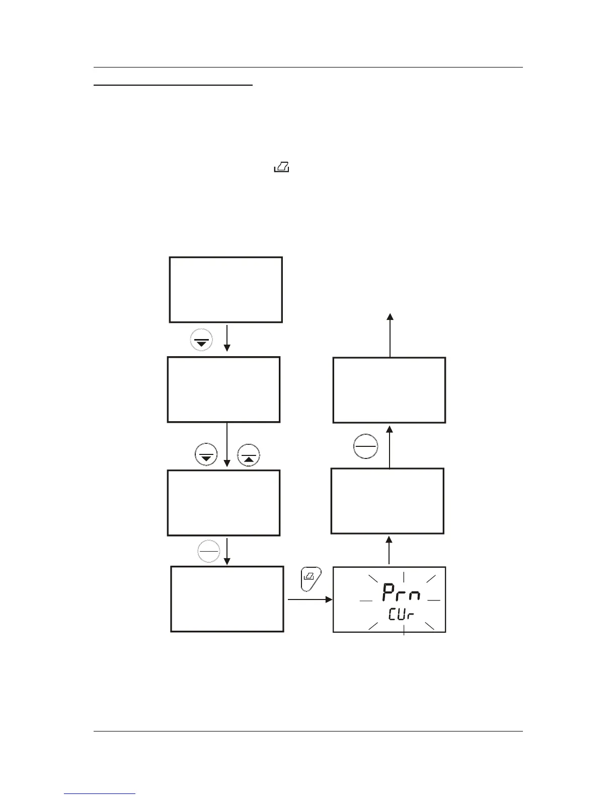
To print Selected Stored Data
1. From measurement mode, press MR/ key.
2. A “MEM” indicator appeared and the last memory input location is displayed.
3. Press MI/ or MR/ key to select a specific memory location, and press
HOLD/ENTER key.
4. When ready, press PRINT ( ) key.
5. The screen flashes “Prn/CUr” for about 0.5 seconds and switches back to the
stored data of the specific memory location.
6. Press HOLD/ENTER key. The meter is now ready to recall the next stored
data in the following memory location.
During measurement mode
Repeat print procedure or
press CAL to exit
For example,select
memory location 10
Last memory input
location
Moves to next
memory location
MR
MEM
MEM
MEM
loc
loc
loc
20
10
9
ENTER
HOLD
ENTER
HOLD
MI
MR
Flash for 0.5 seconds
MEAS
READY
21.0
1200
°C
ATC
µ
S
MEM
1413
22.4
ATC
°C
µ
S
MEM
1413
22.4
ATC
°C
µ
S
Figure 29: Print based on selected stored data from memory
For more information about Eutech Instruments’ CyberComm Portable Data
Acquisition Software programme, see page 53 - CYBERCOMM PORTABLE DAS
(FOR CON 110 ONLY)

Table of Contents

Related product manuals