EasyManua.ls Logo

Omron E5*C Series - Page 56

Omron E5*C Series
440 pages
Print Icon
To Next Page IconTo Next Page
To Next Page IconTo Next Page
To Previous Page IconTo Previous Page
To Previous Page IconTo Previous Page
Loading...
2 Preparations
2 - 18
E5@C Digital Temperature Controllers User’s Manual (H174)
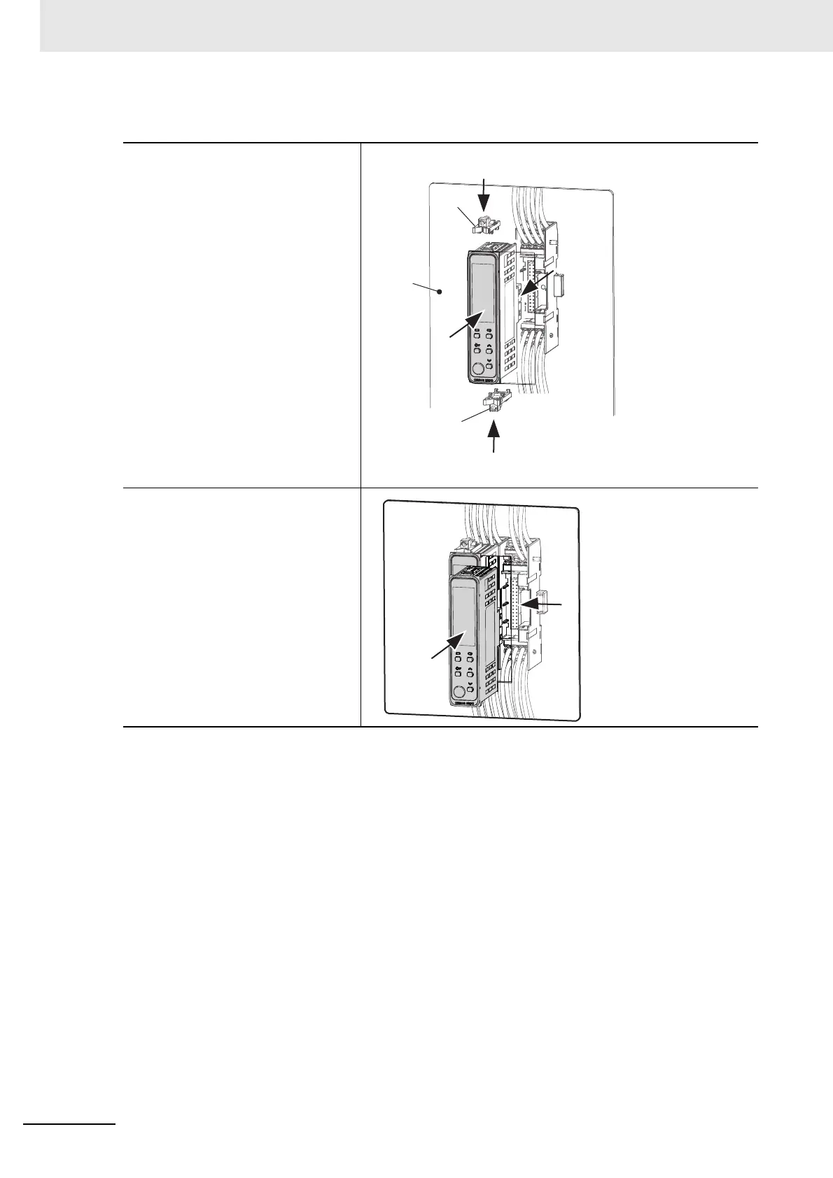
Linked Mounting on the Mounting Panel
1
Push the Main Unit into the
mounting holes on the
mounting panel.
2
Mount a wired Terminal Unit
on the Main Unit.
3
Push the Adapter from the
Terminal Unit side up to the
Mounting Panel, and
temporarily fasten the Main
Unit. Tighten the two
fastening screws on the
Adapter. Alternately tighten
the two screws little by little
to maintain a balance.
Tighten the screws to a
torque of 0.29 to 0.39 N·m.
4
Remove the connector cover
of the wired Terminal Unit
from the side that is to be
linked, and link the
connectors.
5
Push the Main Unit into the
mounting holes on the
mounting panel, and attach it
to the Terminal Unit.
3
3
1
2
Adapter
Panel
Adapter
4
5

Table of Contents

Other manuals for Omron E5*C Series

Related product manuals