EasyManua.ls Logo

Omron NX-ECC201 - Page 144

Omron NX-ECC201
406 pages
Print Icon
To Next Page IconTo Next Page
To Next Page IconTo Next Page
To Previous Page IconTo Previous Page
To Previous Page IconTo Previous Page
Loading...
7 Wiring
7 - 12
NX-series EtherCAT Coupler Unit User’s Manual (W519)
If the ground wire for the EtherCAT Coupler Unit or an NX Unit with a ground terminal is shared with
power equipment, noise will adversely affect the Units.
You can use OMRON NX-AUX01 DIN Track Insulation Spacers with PFP-50N or PFP-100N DIN Tracks
to isolate an EtherCAT Slave Terminal from the control panel.
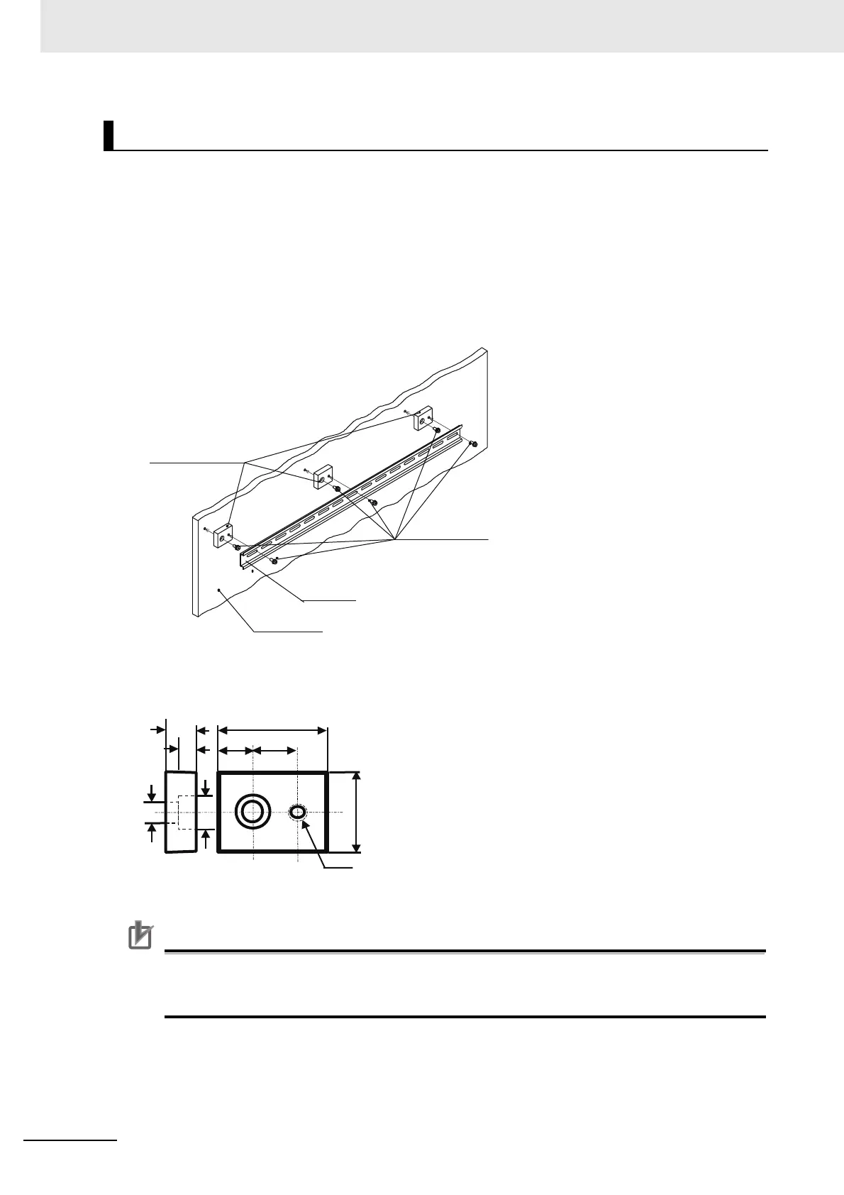
Installing DIN Track Insulation Spacers and DIN Track
Secure the DIN Track Insulation Spacers to the control panel with screws, and then secure the DIN
Track to the DIN Track Insulation Spacers. The recommended tightening torque for M4 screws is 1.2
N·m.
DIN Track Insulation Spacers
NX-AUX01 (OMRON Corporation)
Precautions for Correct Use
If you use DIN Track Insulation Spacers to install an EtherCAT Slave Terminal, the height will be
increased by approximately 10 mm. Make sure that the EtherCAT Slave Terminal and connect-
ing cables do not come into contact with other devices.
Isolating the EtherCAT Slave Terminal from the Control Panel
DIN Track
Insulation Spacers
Control panel
DIN Track
Screws, M4×10
35
14.810
32.7
4.5 dia.
6
10
M4
10 dia.

Table of Contents

Related product manuals