EasyManua.ls Logo

Panasonic MCDDT3520 - Monitor Mode

Panasonic MCDDT3520
232 pages
Print Icon
To Next Page IconTo Next Page
To Next Page IconTo Next Page
To Previous Page IconTo Previous Page
To Previous Page IconTo Previous Page
Loading...
82
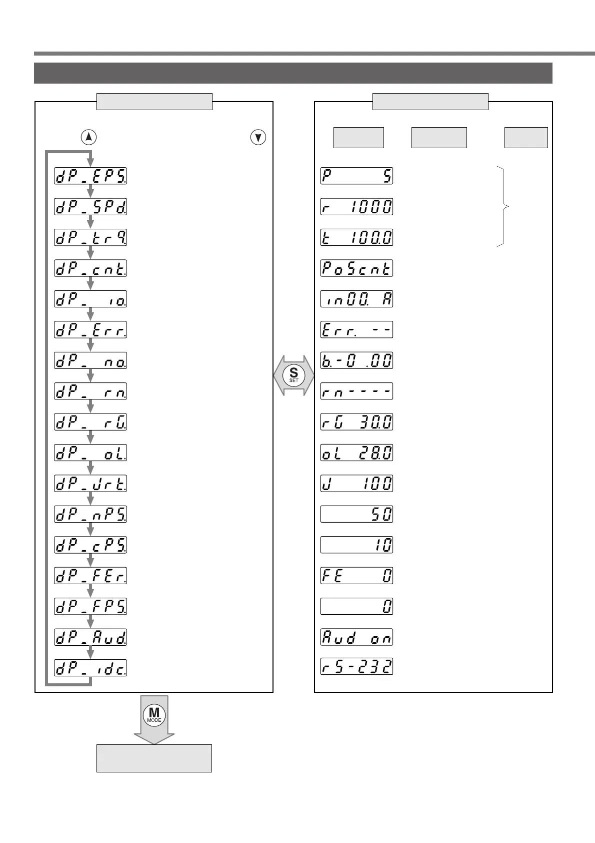
How to Use the Console
(Mode switch button)
SET
(
button
)
Positional deviation
Motor rotational speed
Torque output
Control mode
I/O signal status
Error factor, history
For manufacturer's use
Alarm
Regenerative 
load factor
Overload factor
Inertia ratio
Feedback pulse sum
Command pulse sum
External scale 
deviation
External scale 
feedback pulse sum
Automatic motor 
recognizing function
Selection of 
communication
(5 deviation pulses)
(1000r/min)
(Torque output 100%)
(Position control mode)
(Input signal No.0 : Active)
(No error currently)
(No alarm)
(30% of permissible 
regenerative power)
(28% of overload factor)
(Inertia ratio 100%)
(Feedback pulse sum is 
50 pulses.)
(Command pulse sum is 
10 pulses.)
(External scale deviation is 
0 pulses.)
External scale feedback 
pulse sum is 0 pulses.
(
Automatic motor recognizing 
function is validated.)
(RS232 communication)
P.83
P.83
P.83
P.85
P.85
P.86
P.86
P.86
P.86
P.86
P.86
P.86
P.86
P.86
Teaching Mode
P.87
Display shifts toward the arrowed direction by 
pressing and reversed direction by pressing .
Display
example
Description
Pages to
refer
EXECUTION displaySELECTION display
Monitor Mode

Table of Contents

Other manuals for Panasonic MCDDT3520

Related product manuals