EasyManua.ls Logo

Panasonic MCDDT3520 - How to Use the Console

Panasonic MCDDT3520
232 pages
Print Icon
To Next Page IconTo Next Page
To Next Page IconTo Next Page
To Previous Page IconTo Previous Page
To Previous Page IconTo Previous Page
Loading...
80
How to Use the Console
Setup with the Console
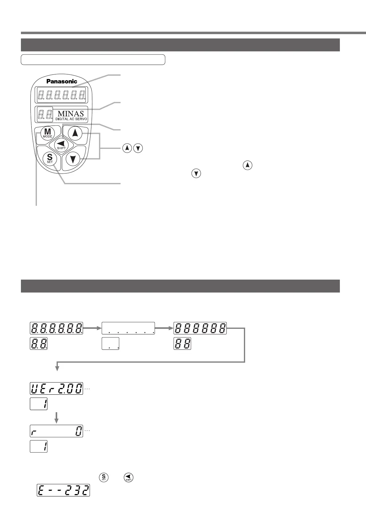
Composition of Display/Touch panel
Display LED (6-digit)
All of LED will flash when error occurs, and switch to error display
screen. 
Display LED (in 2 digits) 
Parameter No. is displayed at parameter setup mode. Point No. is
displayed at teaching mode.
SHIFT Button 
Press this to shift the digit for data change.
Button 
Press these to change data or execute selected action of parameter.
Numerical value increases by pressing , ,
decreases by pressing .
SET Button
Press this to shift each mode which is selected by mode switching
button to EXECUTION display.
Mode Switching Button Press this to switch 7 kinds of mode.
1) Monitor mode
2) Teaching mode
• Target position settings established 
by teaching
• Test operation
3) Parameter setup mode
4) EEPROM write mode
5) Normal auto-gain tuning mode
6) Auxiliary function mode
Alarm clear
Absolute encoder clear
7) Copy mode
• Copying of parameters from the driver to the console.
• Copying of parameters from the console to the driver.
Release of RS232 communication error
When RS232 communication error occurs as the Fig, below shows, 
release it by pressing and at the same time.
• In case of communication with RS232 only
1 sec
[flashes for approx. 0.6 sec each for initialization of the console]
Displays version No. of micro computer of the console. 
(
Displayed figures vary
depending on the version)
Initial display of LED
(Determined by the setup of SV.Pr01, "Initial Status of LED".)
0.6 sec 0.6 sec 0.6 sec
Initial Status of the Console Display (7 Segment LED)
Tu rn on the power of the driver while inserting the console connector to the driver main body, or inserting the
console connector to CN X4 connector.

Table of Contents

Other manuals for Panasonic MCDDT3520

Related product manuals