EasyManua.ls Logo

Parker COMPAX-M /-S (L) - Service D;A Monitor; Override; Service D;A Monitor

Parker COMPAX-M /-S (L)
242 pages
Print Icon
To Next Page IconTo Next Page
To Next Page IconTo Next Page
To Previous Page IconTo Previous Page
To Previous Page IconTo Previous Page
Loading...
Start-up manual
COMPAX-M / -S
Service D/A monitor / override
56
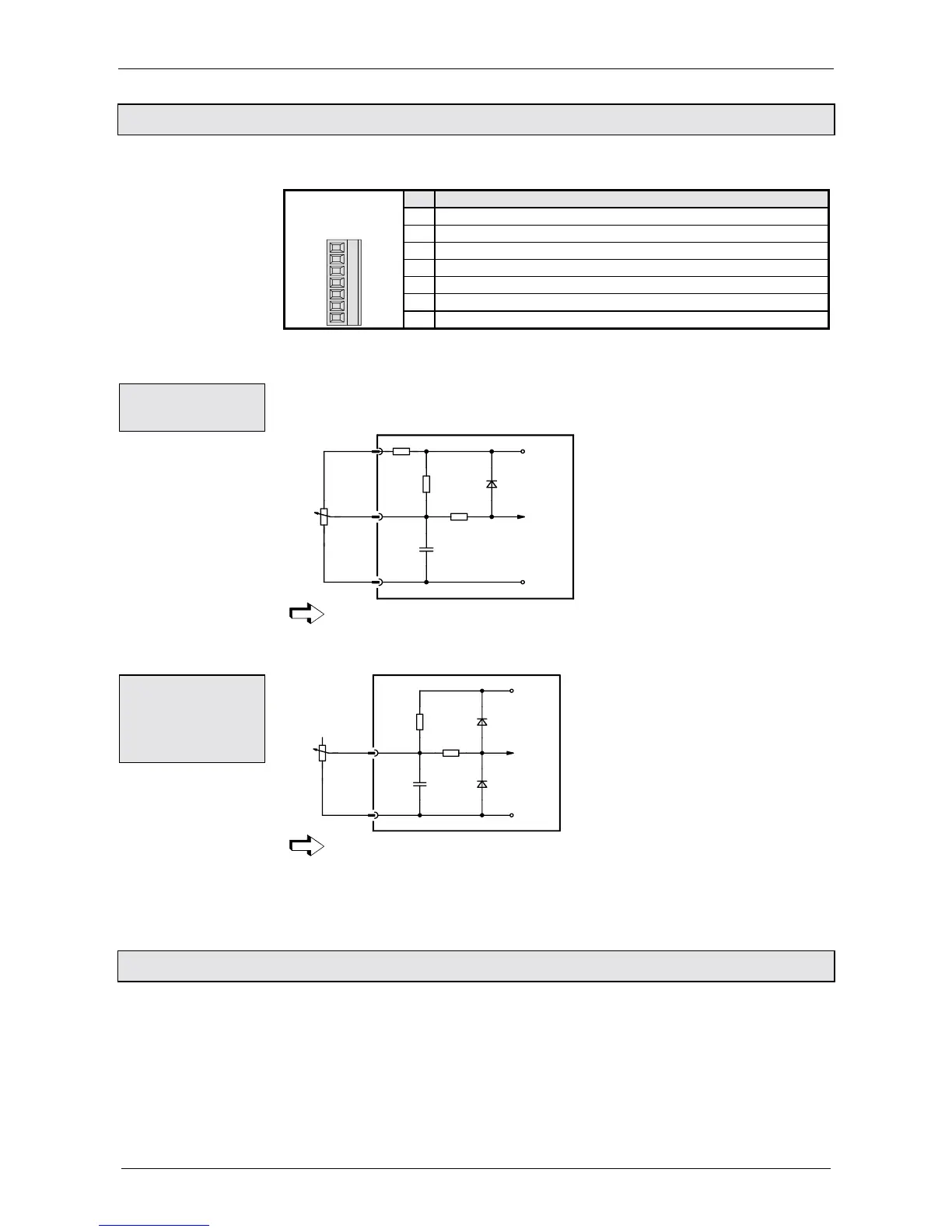
7.9.5 Service D/A monitor / override
Assignment of X11
(not applicable for COMPAX 1000SL)
Pin Assignment
1 +24V
2 Ground 24V
3 Override for speed reduction
4
Standard DA channel 2: 8 Bit, Ri=2.21k;
5
Standard DA channel 3: 8 Bit, Ri=2.21k;
6 Override; previous input for existing applications
Connector: Phoenix
MC1.5/7-ST-3.81
4567123
7 Screen
With COMPAX 1000SL, the override input is on X19/13 (see Page 53),
the Service D/A monitors on X17/1 und X17/2 (see Page 55).
(not applicable for COMPAX 1000SL)
X11/3
X11/2
1K
10K
+5V
GND
100%
0%
10K
100nF
X11/6
10K
Override-
Signal
The override input is read in a cycle of 100 ms.
You can continue to use the previous override connection for current applications.
X19/13
X19/14
10K
+5V
GND
100%
0%
10K
100nF
Override-
Signal
1K
The override input is read in a cycle of 100 ms.
Wiring of override with screened cables only
7.9.6 Service D/A monitor
The service D/A monitor gives you the option of outputting internal measurement
and intermediate parameters from COMPAX in the form of analogue voltage in the
range of
±
10V via X11 (X17 with COMPAX 1000SL) and visualizing these by
means of an oscilloscope. This provides you with a capable aid for making the unit
functions clear and qualifiable, especially during the start-up.
This function (which is available in all units) provides you with two analogue output
channels with a resolution of 8 bit and these are updated every 100 µs.
Override
connection
Override -
Connection for
COMPAX
1000SL
Note:
COMPAX
COMPAX 1000SL

Table of Contents

Related product manuals