EasyManua.ls Logo

Parsun F115 - Check the Driven Pulley; Check the Cylinder Head Bolts; Valve and Valve Guide; Valve Spring

Parsun F115
131 pages
Print Icon
To Next Page IconTo Next Page
To Next Page IconTo Next Page
To Previous Page IconTo Previous Page
To Previous Page IconTo Previous Page
Loading...
74
Check the driven pulley
Check whether the driven pulley is deformed, cracked and worn; If yes, replace it.
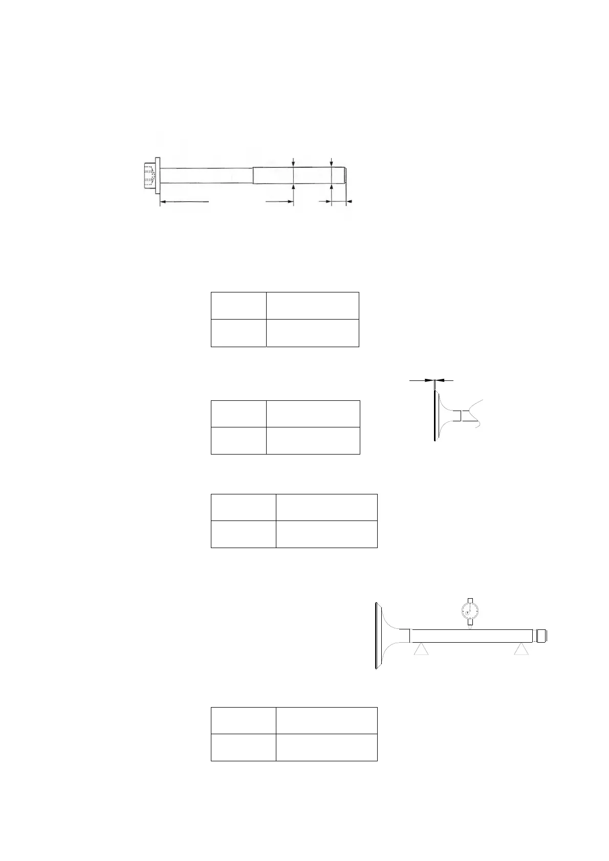
Check the cylinder head bolts
Measure D1 and D2 at specified measuring points. Calculate the value of D2 minus D1. If it
is greater than 0.17mm, replace it.
Valve and valve guide
1. Check the width of valve sealing surface; If it is not within the prescribed scope, Trim
the valve seat ring.
Width of sealing surface:
Intake
valve
1.101.50 mm
Exhaust
valve
1.101.50 mm
2. Check the valve edge thickness T; Replace the valve if it does not meet the specified
value.
Valve edge thickness:
Intake
valve
0.81.2 mm
Exhaust
valve
1.01.4 mm
3. Check valve stem diameter. If it is not within the prescribed scope, replace the valve.
Valve stem diameter:
Intake
valve
5.4755.490mm
Exhaust
valve
5.4605.475mm
Note:
When replacing the valve, be sure to use new valve guide and valve oil seal.
4. Check valve stem runout. If it is beyond the limit, replace the valve.
Valve stem runout limit: 0.01mm
5. Check the inner diameter of the valve guide.
Valve guide inner diameter: 5.5045.522mm
6. Calculate the clearance between valve stem and valve guide hole. If it exceeds the
clearance range, please replace it
Intake
valve
0.0140.047mm
Exhaust
valve
0.0290.062mm
Valve spring
1. Check the free length of valve spring; Replace it if it is less than the specified value.
Minimum free length: 41.2 mm
T
D1 D2
68 mm
10 mm

Table of Contents

Related product manuals