EasyManua.ls Logo

Pegasus TFV2000D-E - Setting the Defrost Interval Timer

Pegasus TFV2000D-E
86 pages
Print Icon
To Next Page IconTo Next Page
To Next Page IconTo Next Page
To Previous Page IconTo Previous Page
To Previous Page IconTo Previous Page
Loading...
- 29 -
4 Initial setting
1
5
2
6
3
7
9
4
8
10
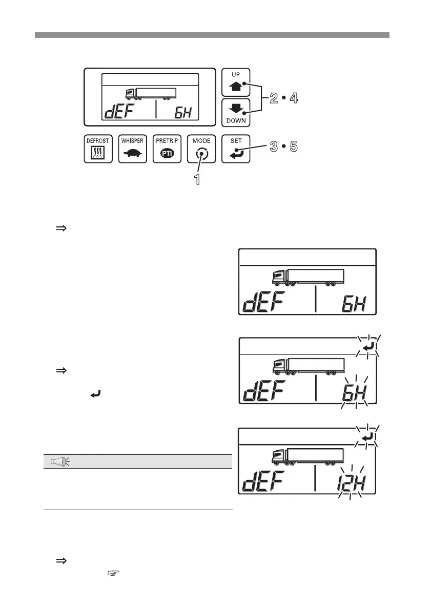
Setting the defrost interval timer
1
2 4
3 5
1
Press the [MODE] switch.
The display changes to the "Current error display mode".
2
Press the [UP] or [DOWN] switch until
the display changes to the "Defrost
interval timer setting mode". (Right
gure)
3
Press the [SET] switch.
The time starts to blink in the right side
of the digital display area.
Icon starts to blink.
4
Press the [UP] or [Down] switch to
select the setting time.
NOTE
The defrost interval time can be selected
from 12 steps ranging from 1H (1 hour) at the
minimum to 12H (12 hours) at the maximum.
5
Press the [SET] switch.
The setting is completed and the display changes to the "Normal display
screen" (
Refer to page 22.)

Table of Contents