EasyManua.ls Logo

Perkins 5012C-E46TA - Page 23

Perkins 5012C-E46TA
106 pages
Print Icon
To Next Page IconTo Next Page
To Next Page IconTo Next Page
To Previous Page IconTo Previous Page
To Previous Page IconTo Previous Page
Loading...
(11) Oil pressure relief valve screw
(12) Fuel transfer pump
(13) Oil drain plug (1 of 2)
(14) Twin secondary fuel filters
(15) Engine oil cooler (1 of 2)
(16) Oil filters
(17) Starting motor
(18) Electronic control module (1 of 2)
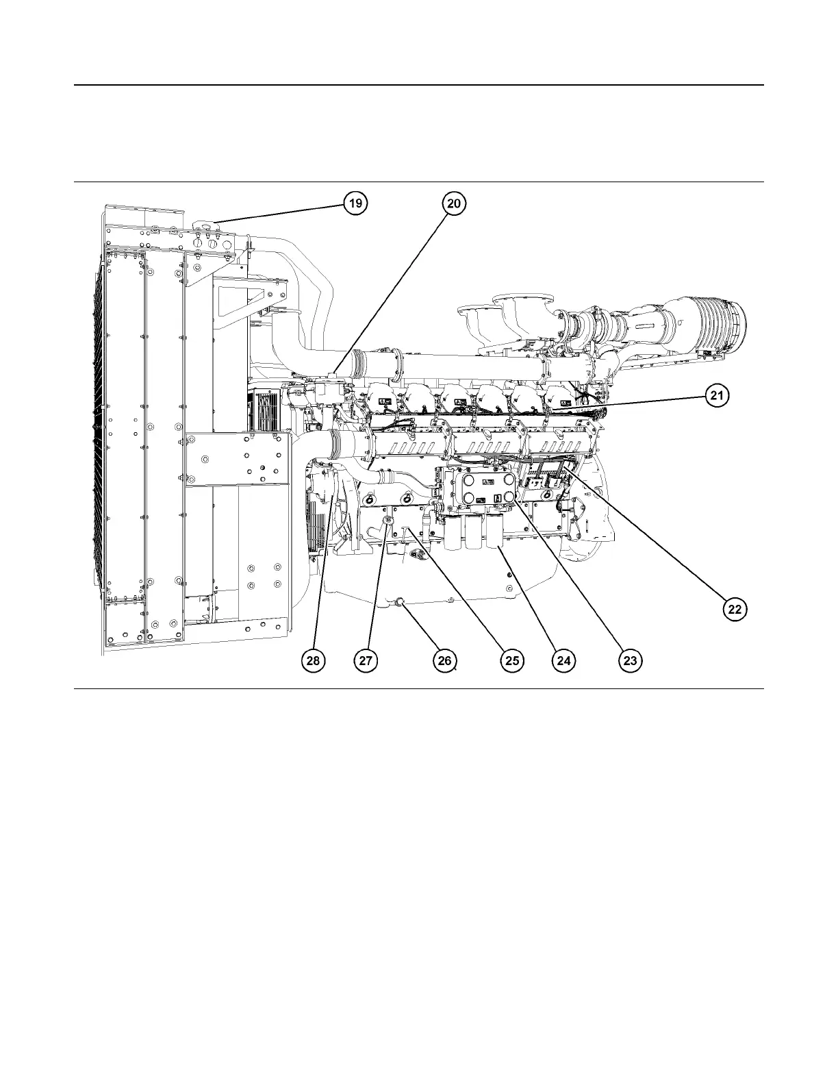
Illustration 23 g07703681
Typical example
(19) Rear lifting eye (2 of 2)
(20) Breather (2 of 2)
(21) Rear lifting eye (2 of 2)
(22) Electronic control module (2 of 2)
(23) Engine oil cooler (2 of 2)
(24) Engine oil filters
(25) Oil gauge (Dipstick)
(26) Oil drain plug (2 of 2)
(27) Engine oil filler
(28) Water pump
M0163009 23
Product Information Section
Model View Illustrations

Table of Contents

Related product manuals