EasyManua.ls Logo

PIAGGIO Beverly Tourer 300 i.e. - Diagnostic Codes

PIAGGIO Beverly Tourer 300 i.e.
333 pages
Print Icon
To Next Page IconTo Next Page
To Next Page IconTo Next Page
To Previous Page IconTo Previous Page
To Previous Page IconTo Previous Page
Loading...
becomes uncoded, the efficiency of the high voltage circuit shielding must be thoroughly inspected: In
any case it is advisable to use resistive spark plugs.
Diagnostic codes
The Immobilizer system is tested each time the
key switch is turned from «OFF» to «ON». During
this diagnosis phase a number of control unit sta-
tuses can be identified and various light codes
displayed. Regardless of the code transmitted, if
at the end of the diagnosis the LED remains off
permanently, the ignition is enabled. If, however,
the LED remains on permanently, it means the ig-
nition is inhibited:
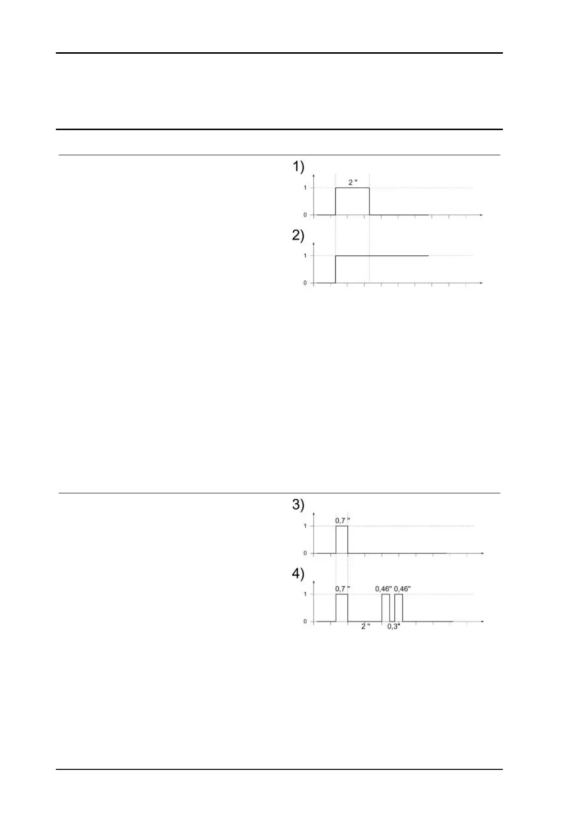
1. Previously unused control unit - key inser-
ted: a single 2 second flash is displayed, after
which the LED remains off permanently. The keys
can be stored to memory, the vehicle can be star-
ted but with a limitation imposed on the number of
revs.
2. Previously unused control unit - transpond-
er absent or cannot be used: The LED is per-
manently ON; in this condition, no operations are
possible, including starting of the vehicle.
3. Programmed control unit - the service key in
(normal condition of use): a single 0.7-second
flash is displayed, after which the LED remains off
steadily. The engine can be started.
4. Programmed control unit - Master key in: a
0.7 sec. flash is displayed followed by the LED re-
maining off for 2 sec. and then by short 0.46 sec.
flashes the same number of times as there are
keys stored in the memory including the Master
key. When the diagnosis has been completed, the
LED remains permanently OFF. The engine can
be started.
5. Programmed control unit - fault detected: a light code is displayed according to the fault detected,
after which the LED remains on steadily. The engine cannot be started. The codes that can be trans-
mitted are:
Electrical system Beverly Tourer 300 i.e.
ELE SYS - 86

Table of Contents

Related product manuals